Skip to main content
U.S. flag

An official website of the United States government

Dot gov

The .gov means it’s official.
Federal government websites often end in .gov or .mil. Before sharing sensitive information, make sure you’re on a federal government site.

Https

The site is secure.
The https:// ensures that you are connecting to the official website and that any information you provide is encrypted and transmitted securely.

Clarifying the Definition of Homebound and Medical Necessity Using OASIS Data: Final Report

Publication Date

Sarah M. Donelson, M.A., Christopher M. Murtaugh, Ph.D., Penny Hollander Feldman, Ph.D., Kamal Hijjazi, Ph.D., Lori Bruno, M.P.H., Stephanna Zeppie, R.N., M.A., C.P.H.Q., Shiela Kinatukara Neder, R.N., B.S.N., Eva Quint, B.A., R.N., B.S.N., Liping Huang, M.A., and Amy Clark, B.A.

Center for Home Care Policy and ResearchVisiting Nurse Service of New York

PDF Version: http://aspe.hhs.gov/daltcp/reports/OASISfr.pdf (81 PDF pages)


This report was prepared under contract #100-99-0020 between the U.S. Department of Health and Human Services (HHS), Office of Disability, Aging and Long-Term Care Policy (DALTCP) and the Visiting Nurse Service of New York. For additional information about this subject, you can visit the DALTCP home page at http://aspe.hhs.gov/_/office_specific/daltcp.cfm or contact the Office at HHS/ASPE/DALTCP, Room 424E, H.H. Humphrey Building, 200 Independence Avenue, S.W., Washington, D.C. 20201. The e-mail address is: webmaster.DALTCP@hhs.gov. The Project Officer was Kamal Hijjazi.

The Principal Investigator for this project was Sarah M. Donelson, M.A., from September 1999 through May 2000. She is now with PeaceHealth in Eugene, Oregon. The Principal Investigator since June 2000 has been Christopher M. Murtaugh, Ph.D.

The opinions and views expressed in this report are those of the authors. They do not necessarily reflect the views of the Department of Health and Human Services, the contractor or any other funding organization.


 

TABLE OF CONTENTS

EXECUTIVE SUMMARY

I. INTRODUCTION

II. CONCEPTUAL MODEL AND OVERVIEW OF METHODS

III. DEVELOPMENT OF OASIS

Literature Review

Expert Panel

Homebound Indicators

Homebound Algorithm

Medical Necessity Indicators

Medical Necessity Algorithm

Other Issues Discussed by the Expert Panel

IV. ALGORITHM TESTING

V. MEDICAL RECORD REVIEW

Medical Record Review Sample

Medical Record Review Training

Results of Nurses' Assessment of Eligibility

Reasons Why Patients Are Homebound

Analysis of Functional Limitations of Homebound Patients

Reasons Why Patients Need Skilled Nursing or Therapy Services

Response to Medical Record Review Data Quality Questions

VI. SUMMARY OF RESULTS AND STUDY LIMITATIONS

VII. CONCLUSIONS AND RECOMMENDATIONS

APPENDICES

APPENDIX A. Bibliography

APPENDIX B. List of People Attending the Expert Panel Meeting

APPENDIX C. Patient Vignettes Prepared for the Expert Panel

APPENDIX D. Outcome and Assessment Information Set

APPENDIX E. Medical Record Review Tools

LIST OF FIGURES

FIGURE 1: Conceptual Model for Classifying Patients as Meeting or Not Meeting Eligibility Criteria

FIGURE 2: Text Version of Homebound Algorithm

FIGURE 3: OASIS Item Version of Homebound Algorithm

FIGURE 4: Text Version of Medical Necessity Algorithm

FIGURE 5: OASIS Item Version of the Medical Necessity Algorithm

FIGURE 6: Domain Results for the Homebound and Medical Necessity Algorithms

LIST OF TABLES

TABLE ES-1: Percent of Patients Meeting Each Criterion Using Only OASIS Data

TABLE ES-2: Response to Data Quality Questions

TABLE ES-3: Summary of Results

TABLE 1: Percent of Patients Meeting Each Criterion Using Only OASIS Data

TABLE 2: Medical Record Review Sample

TABLE 3: Number (Percent) of Patients Meeting and Not Meeting Each Criterion

TABLE 4: Frequency of Conditions Related to Homebound Status

TABLE 5: Functional Limitations among Patients who Were Not Captured by the Homebound Algorithm

TABLE 6: Frequency of Conditions Related to Need for Skilled Care

TABLE 7: Response to Data Quality Question

TABLE 8: Summary of Results

 

EXECUTIVE SUMMARY

The Social Security Act -- Sections 1814(a)(2)(C) and 1835(a)(2)(A), as amended by Section 4615 of the Balanced Budget Act of 1997 -- establishes the basic eligibility and coverage requirements for Medicare home health benefits. The act states that home health services shall be provided to beneficiaries who (1) are homebound, (2) have medical necessity (i.e., need intermittent, skilled nursing care, physical therapy, speech therapy or continued occupational therapy), and (3) are under a physician’s plan of care. While these criteria may seem straightforward, their application is somewhat difficult. In fact, both the use and interpretation of the first two criteria vary widely among Medicare Fiscal Intermediaries (FIs), home health agencies and physicians (Office of the Inspector General (OIG) Report A-04-94-02087).

How the homebound and medical necessity criteria can be interpreted in different ways becomes apparent when the language in the Health Care Financing Administration’s (HCFA) home health coverage guide (HIM-11) is examined. The HIM-11 states that a person may be considered homebound if leaving the home requires considerable and taxing effort. Absences from the home are acceptable, provided they are infrequent, of short duration or to receive medical treatment. Words such as “taxing”, “considerable”, “infrequent” and “short” may have very different meanings depending on the interpreter since there is no objective and measurable definition of these terms. The language used to describe medical necessity is similar. Section 205 of the HIM-11 defines medical necessity using words and phrases such as “complexity,” “safely and effectively,” “trained,” “able and willing” and “unique medical condition.”

Congress, in Section 4613(a) of the Balanced Budget Act of 1997, charged the Secretary of the Department of Health and Human Services (HHS) to investigate the criteria for determining homebound status and to develop a method of applying such criteria (Shalala, 1999). The study was completed by HHS and a report was submitted to Congress in 1999. The findings from the study were inconclusive. However, the report recommended that there be further examination of the issue once more comprehensive data sources were available (e.g., the Outcome Assessment and Information Set (OASIS)). The above concerns and recommendations along with recommendations from the OIG (1999) and the Medicare Payment Advisory Commission (1999) prompted the Office of the Assistant Secretary for Planning and Evaluation (ASPE) within HHS to study how to clarify the homebound and medical necessity criteria through the use of OASIS data.

This study assesses the feasibility of using information routinely collected as part of OASIS, as well as other patient data, to develop objective and consistent tools for evaluating a beneficiary’s homebound status and his or her need for skilled care under the Medicare home health benefit. In the first phase of the project we developed and tested two OASIS-based algorithms. Subsequently, we developed and applied medical record review tools for assessing whether patients meet the homebound and medical necessity criteria.

In December 2000, just as this project was concluding, new legislation affecting the homebound definition was passed by Congress and signed into law. Section 507 of the Beneficiary Improvement and Protection Act amends the Social Security Act and clarifies the homebound definition under the Medicare home health benefit by expanding the list of circumstances in which absences from the home are consistent with a determination that a beneficiary is homebound. Specifically, the law allows absences from the home attributable to the need to receive health care treatment from an adult day-care program as well as absences for religious services. While this recent change in the law adds to the numerous examples in the HIM-11 concerning when beneficiaries meet the homebound and medical necessity criteria, the examples are not exhaustive enough to greatly reduce the need for interpretation when FIs, providers and beneficiaries assess eligibility.

There still is a need, then, for objective and consistent tools that increase overall understanding of the home health benefit, and reduce problems and frustration experienced at the agency and beneficiary level due to wide variation in interpretation of the rules. FIs, for example, would have a single standardized method for applying the homebound and medical necessity criteria and would be able to focus their reviews on more complex cases, saving both time and effort. Physicians would be able to use the tools to improve their understanding of the types of patients who qualify for the home care benefit. Home care providers could use OASIS to determine which patients are highly likely to meet the two Medicare eligibility requirements and when documentation concerning a patient’s homebound status or need for skilled services is particularly important. While such tools will not eliminate the need for judgment, particularly in difficult or “gray” areas, they have many potential uses and benefits.

Methods

We conducted a comprehensive review of government, association and academic literature on homebound individuals and medical need for skilled care in the first weeks of the project. Subsequently, national experts in home care were identified and a panel of nine clinicians convened in New York City. The expert panel was asked to identify clinical, functional and other reasons why individuals are homebound and in need of skilled nursing or therapy services. They also provided advice on whether these reasons can be proxied using OASIS data. The project team analyzed the results of the literature review and expert panel and developed two OASIS-based algorithms and two medical record review tools.

The two algorithms and medical record review tools were tested using data from six home care agencies with considerable OASIS experience. The agencies selected to participate in the study varied in geographic location, Medicare FI, size and ownership. Each agency submitted OASIS data from the last quarter of 1999 (October-December). A sample of 100 start-of-care assessments was selected from each agency’s pool of Medicare patient assessments for beneficiaries who were not enrolled in a Medicare health maintenance organization, for a total sample size of 600 Medicare beneficiaries. The algorithms then were applied to determine the number of patients classified as homebound and in need of skilled nursing or therapy services based solely on OASIS data.

The final phase of the project was a medical record review of the records of patients who were not captured by either of the two algorithms. Two medical record review tools were constructed (one for the homebound and one for the medical necessity criterion). Each tool included a check-off list of clinical conditions identified by the expert panel as important for determining eligibility but OASIS data are lacking. Nurses with extensive chart review experience went through each patient record, checked off items on the tool when documented in the record, and made a professional judgment about whether the beneficiary met the homebound and/or medical necessity requirements.

Results

The results of this project indicate that OASIS information can be used to identify patients highly likely to meet the homebound and medical necessity criteria at the start of care (Table 1).

Overall, 48.5% of the 600 patients screened were classified as homebound based solely on information from OASIS included in the homebound algorithm. Roughly half of the patients met this eligibility criterion because they experienced shortness of breath with minimal or moderate exertion. One-third were classified as homebound because of mobility limitations.

A much higher proportion of the 600 patients screened (89.0%) met the medical necessity criterion based solely on information from OASIS included in the second algorithm. Almost half of the patients meeting the criterion did so because primary diagnosis symptoms were poorly controlled, or controlled with difficulty, in combination with other reasons for skilled care. One-quarter met the criterion because they had a pressure ulcer, stasis ulcer or surgical wound.

Medical record review then was conducted on 322 records of patients who were not captured by one or both of the algorithms. The large majority of the reviews were for patients who were not captured by the homebound algorithm. Over half of these patients were judged by a clinician to meet the Medicare homebound criterion based on a detailed chart review. Similarly, a clinician concluded that half of the much smaller number of patients who were not captured by the medical necessity algorithm met this Medicare requirement.

Two questions concerning completeness of OASIS data and patient records were included at the bottom of the medical record review tools (see Table 2). The data quality problems encountered by the nurses conducting the medical record reviews were substantial. Conflicting information was a common problem. The nurse reviewers were asked to indicate whether OASIS items were “obviously miscoded” and “yes” was checked in 45.9% of the homebound reviews and 52.4% of the medical necessity reviews. However, in many of these cases the nurse noted that there was a discrepancy between an OASIS item and another part of the patient record but they were unable to determine which of the two was correct. The nurses also reported relatively high levels of conflicting information in chart notes and gaps between notes (i.e., “inadequate charting”). (Missing OASIS items and missing pages or sections of patient records occurred relatively infrequently.) The data quality problems encountered by the nurses were relatively similar regardless of whether nurses were determining homebound status or the need for skilled care.

When the algorithm and medical record review results are combined, 77.0% of the 600 patients were classified as meeting the homebound criterion and 94.5% were classified as meeting the medical necessity criterion (Table 3). Agencies failed to send only 16 of the 322 records requested. The results would not change substantially, therefore, even if we had access to the missing records.

There are three important study limitations. First, the algorithms and medical record review tools only were tested on a small non-random sample of Medicare beneficiaries. How well the tools developed here will work on a more representative sample needs to be determined. Second, the study was limited to start-of-care assessments. It was beyond the scope of this project to test the algorithms and tools on patients remaining in home care beyond 60 days. Finally, the data analyzed were from the final quarter of 1999 -- the middle of a period of substantial change in the home care market. The extent to which the case mix of Medicare patients served by agencies has changed over the last 16 months is unclear.

There are two other potential limitations that need to be acknowledged. Nurses from a single agency conducted the medical record reviews. While they all had extensive chart review experience, the reliability of the medical record review findings is uncertain since a rigorous assessment of inter-rater reliability was beyond the scope of the project. In addition, the accuracy of the OASIS data used to test the algorithms was not formally assessed.

Conclusions and Recommendations

The results of this project show that the two OASIS algorithms successfully identify patients highly likely to meet the homebound and medical necessity criteria for Medicare home health care. Using OASIS data alone, almost 90% of the 600 patients in the sample were classified as meeting the medical necessity criterion. The figure for the homebound criterion is lower (48.5%). It is critical to note, however, that individuals may be clearly eligible for home care benefits even though they are not captured by the OASIS algorithms. Nurses who were experts in chart review, in fact, concluded that over half of the patients not captured by the homebound algorithm actually met this requirement based on a careful review of the patients’ medical records.

Overall, we believe that both the algorithms and medical record review tools have the potential to be very useful to Medicare FIs and providers (e.g., home care agencies and physicians) after additional testing and refinement. The algorithms can be used to ascertain whether an individual meets the two Medicare eligibility requirements and the record review tools to reinforce the importance of documenting the need for home care for patients who are not captured by the algorithms. Agencies, for example, could incorporate the algorithms into their routine OASIS data processing procedures and assess Medicare beneficiaries’ eligibility according to the algorithms and the adequacy of medical record documentation prior to OASIS submission to HCFA.

We recommend, as the next step in the development of the algorithms and medical record review tools, additional testing using a large, nationally representative sample of Medicare beneficiaries. We obtained data from a heterogeneous group of agencies with regard to geographic location, agency ownership, profit status, rural/urban location and size; nevertheless, the six agencies in this study are not representative of all home care agencies. It is important to test the tools developed in this project on a representative sample to ensure that the results are the same for the country as a whole. In addition, we recommend that the algorithms and medical record review tools be tested at the point that patients are recertified for Medicare home health care (i.e., at 60-day intervals following admission to home care). While we believe the algorithms and medical record review tools will work well with follow-up assessments, this remains to be empirically tested.

We also recommend further research to improve the “sensitivity” of the homebound algorithm (i.e., the ability of the algorithm to capture individuals who truly are homebound) and assess the specificity of both algorithms (i.e., the ability of the algorithms to exclude individuals who do not meet the criteria). A large proportion of the patients judged to be homebound by nurses based on chart review had “general weakness or somnolence.” Our results suggest that with further work it may be possible to identify at least some of the individuals with these conditions who are homebound using a combination of OASIS items that could be added to the algorithm. In general, more research is needed to refine the homebound algorithm to increase the percent of individuals correctly classified. Research also should be conducted to determine the extent to which the OASIS algorithms capture “false positives.” The recommendations of an expert panel of home care clinicians were followed when we constructed the OASIS algorithms. It still is possible, however, that some patients meeting the eligibility criteria according to the algorithms could be judged not to be homebound or in need of skilled care when their medical records are carefully reviewed. The extent of any such false positives should be determined as well as the reasons for false positives. Depending on the results, the algorithms should be refined to address this problem.

References

HIM-11, Chapter II -- Coverage of Services. Health Care Financing Administration.

Medicare Payment Advisory Commission. Access to Home Health Services. In, Report to the Congress: Selected Medicare Issues, June 1999. (pages 105-16)

OIG Report. Review of Medicare Home Health Services in California, Illinois, New York, and Texas (A-04-99-01194) October 1999.

OIG Report. Results of the Audit of Medicare Home Health Services in Florida (A-04- 94-02087) June 1995.

Shalala DE. “Homebound” -- A Criterion for Eligibility for Medicare Home Health Care. Report to Congress, April 1999.

TABLE ES-1: Percent of Patients Meeting Each Criterion Using Only OASIS Data
    Homebound     Medical Necessity  
Agency A 45.0% 91.0%
Agency B 48.0% 95.0%
Agency C 50.0% 94.0%
Agency D 41.0% 81.0%
Agency E 64.0% 76.0%
Agency F 43.0% 97.0%
All Agencies   48.5% 89.0%

 

TABLE ES-2: Response to Data Quality Questions
    Homebound     Medical Necessity  
“Yes” Response to Question #1: Were OASIS start-of-care assessment items obviously miscoded or missing? 1 136 45.9% 33 52.4%
“Yes” Response to Question #2: Was the patient record clearly incomplete? 2 120 40.5% 34 54.0%
Both Questions Checked “Yes” 79 26.7% 25 39.7%
Either Question Checked “Yes” 177 59.8% 42 66.7%
NOTE: A total of 296 charts were reviewed to determine homebound status and 63 to determine whether the medical necessity criterion was met.
  1. Nurse reviewers in many cases indicated that OASIS items disagreed with information in the chart but were not sure which source was correct.
  2. Nurse reviewers usually indicated that the problem was “inadequate charting” and not that part of the record was missing.

 

TABLE ES-3: Summary of Results
  Homebound Medical Necessity
OASIS Algorithm Results
Met criterion 291 48.5% 534 89.0%
Criterion not met 309 51.5% 66 11.0%
Record Review Results
Met criterion 171 28.5% 33 5.5%
Criterion not met 125 20.8% 30 5.0%
No record received 13 2.2% 3 0.5%
Combined Results
Met criterion 462 77.0% 567 94.5%
Criterion not met 125 20.8% 30 5.0%
No record received 13 2.2% 3 0.5%
Total 600 100.0% 600 100.0%

 

I. INTRODUCTION

The Social Security Act -- Sections 1814(a)(2)(C) and 1835(a)(2)(A), as amended by Section 4615 of the Balanced Budget Act of 1997 -- establishes the basic eligibility and coverage requirements for Medicare home health benefits. The Act states that home health services shall be provided to beneficiaries who (1) are homebound, (2) have medical necessity (i.e., need intermittent, skilled nursing care, physical therapy, speech therapy or continued occupational therapy), and (3) are under a physician's plan of care. While these criteria may seem straightforward, their application is somewhat difficult. In fact, both the use and interpretation of the first two criteria vary widely among Medicare Fiscal Intermediaries (FIs), home health agencies and physicians (Office of the Inspector General (OIG) Report A-04-94-02087).

How the homebound and medical necessity criteria can be interpreted in different ways becomes apparent when the language in the Health Care Financing Administration's (HCFA) home health coverage guide (HIM-11) is examined. The HIM-11 states that a person may be considered homebound if leaving the home requires considerable and taxing effort. Absences from the home are acceptable, provided they are infrequent, of short duration or to receive medical treatment. Words such as "taxing", "considerable", "infrequent" and "short" may have very different meanings depending on the interpreter since there is no objective and measurable definition of these terms. The language used to describe medical necessity is similar. Section 205 of the HIM-11 defines medical necessity using words and phrases such as "complexity," "safely and effectively," "trained," "able and willing" and "unique medical condition."

Problems with variation in the interpretation of Medicare's coverage criteria date to the early 1980s. Smits, Feder and Scanlon (1982) found that FIs do not interpret coverage criteria for the Medicare nursing home benefit in a precise and consistent way. Such problems are evident in the home health area as well. Studies by both OIG and the Government Accounting Office (GAO) suggest that not all agencies or FIs are using the same decision-making processes to determine whether or not these criteria are met for a particular patient.

An OIG study conducted in 1995, for example, found that 47 of 200 randomly sampled claims did not meet the homebound or medical necessity criteria. From this small sample of claims from one state, OIG estimated that approximately 26.0% of all claims might not meet the Medicare criteria for the home health benefit (OIG Report A-04-94-02087). In 1996, based on an audit of 250 claims from home health agencies in four states, OIG estimated that 40.0% of billed services did not meet Medicare reimbursement requirements (OIG Report A-04-96-02121). A follow-up audit of claims from the same four states conducted in 1998 found a sharp drop in the number of improper or highly questionable services with OIG estimating that 19% of claims did not meet Medicare reimbursement requirements (OIG Report A-04-99-01194). It is important to note that some of the variability in these findings may reflect differences in the interpretation of eligibility criteria by the independent medical reviewers used by OIG when conducting audits. A GAO study, however, concluded that controls over the home health benefit were "essentially nonexistent" and recommended measures to improve Medicare's ability to detect improper claims and prevent benefit abuse (GAO Report HEHS-96-16).

Government agency concern as well as complaints by home health providers prompted Congress to take action. Congress, in Section 4613(a) of the Balanced Budget Act of 1997, charged the Secretary of the Department of Health and Human Services (HHS) to investigate the criteria for determining homebound status and to develop a method of applying such criteria (Shalala, 1999). The study was completed by HHS and a report was submitted to Congress in 1999. The findings from the study were inconclusive. However, the report recommended that there be further examination of the issue once more comprehensive data sources were available (e.g., the Outcome Assessment and Information Set (OASIS)). The above concerns and recommendations along with recommendations from OIG (1999) and the Medicare Payment Advisory Commission (1999) prompted the Office of the Assistant Secretary for Planning and Evaluation (ASPE) within HHS to study how to clarify the homebound and medical necessity criteria through the use of OASIS data.

This study assesses the feasibility of using information routinely collected as part of OASIS, as well as other patient data, to develop objective and consistent tools for evaluating a beneficiary's homebound status and his or her need for skilled care under the Medicare home health benefit. In the first phase of the project we developed and tested two OASIS-based algorithms. Subsequently, we developed and applied medical record review tools for assessing whether patients meet the homebound and medical necessity criteria.

In December 2000, just as this project was concluding, new legislation affecting the homebound definition was passed by Congress and signed into law. Section 507 of the Beneficiary Improvement and Protection Act amends the Social Security Act and clarifies the homebound definition under the Medicare home health benefit by expanding the list of circumstances in which absences from the home are consistent with a determination that a beneficiary is homebound. Specifically, the law allows absences from the home attributable to the need to receive health care treatment from an adult day-care program as well as absences for religious services. While this recent change in the law adds to the numerous examples in the HIM-11 concerning when beneficiaries meet the homebound and medical necessity criteria, the examples are not exhaustive enough to greatly reduce the need for interpretation when FIs, providers and beneficiaries assess eligibility.

There still is a need, then, for objective and consistent tools that increase overall understanding of the home health benefit and reduce problems and frustration experienced at the agency and beneficiary level due to wide variation in interpretation of the rules. FIs, for example, would have a single standardized method for applying the homebound and medical necessity criteria and would be able to focus their reviews on more complex cases, saving both time and effort. Physicians would be able to use the tools to improve their understanding of the types of patients who qualify for the home care benefit. Home care providers could use OASIS to determine which patients are highly likely to meet the two Medicare eligibility requirements and when documentation concerning a patient's homebound status or need for skilled services is particularly important. While such tools will not eliminate the need for judgment, particularly in difficult or "gray" areas, they have many potential uses and benefits.

 

II. CONCEPTUAL MODEL AND OVERVIEW OF METHODS

The proposed procedure for determining a Medicare beneficiary's homebound status and his or her need for skilled care is outlined in Figure 1. Although we describe a method that monitoring agencies can use for determining home health benefit eligibility, the tools developed by this project are intended to serve a variety of purposes. Home care agencies, for example, could use the tools to identify patients who may require additional documentation concerning their eligibility for Medicare home health services.

A two-step approach is proposed for classifying patients as homebound and in need of skilled care. First, during admission to home health or recertification of care, a beneficiary's OASIS data will be screened against two pre-designed OASIS-based algorithms to assess whether the beneficiary meets both criteria. While the OASIS-based algorithms will include the information currently available in OASIS to justify eligibility, not all beneficiaries are expected to meet the eligibility criteria based solely on OASIS data.

Medical record review is the second step for beneficiaries who are not captured by the OASIS-based algorithms. A list of clinical reasons for eligibility that cannot be proxied using OASIS data will be developed for each criterion. The medical records of beneficiaries who are not captured by the OASIS-based algorithms will be reviewed to determine whether they meet the homebound requirement and/or the skilled care criterion based on information documented in their medical records.

The methods used to develop and test the OASIS-based algorithms and medical record review tools are summarized below. We first conducted a comprehensive review of government, association and academic literature on homebound individuals and medical need for skilled services. Subsequently, national experts in home care were identified and a panel of nine clinicians convened in New York City. The expert panel was asked to identify clinical, functional and other reasons why individuals are homebound and in need of skilled nursing or therapy services. They also provided advice on whether these reasons can be proxied using OASIS data. The project team analyzed the results of the literature review and expert panel and developed two OASIS-based algorithms and two medical record review tools.

The two algorithms and medical record review tools were tested using data from a small sample of home care agencies with considerable OASIS experience. The agencies selected to participate in the study varied in geographic location, Medicare FI, size and ownership. A thorough review was conducted of the medical records of patients who were not captured by the OASIS-based algorithms to identify additional OASIS information for inclusion in the algorithms as well as additional reasons for eligibility that cannot be proxied using OASIS. Likelihood-ratio chi-square statistics were estimated to test the statistical significance of differences among the participating agencies in algorithm and medical record review results.

Further information on the methods used in this project is provided in subsequent sections of the report.


FIGURE 1: Conceptual Model for Classifying Patients as Meeting or Not Meeting Eligibility Criteria

Organizational Chart


III. DEVELOPMENT OF OASIS ALGORITHMS

We identified a number of articles, reports, manuals and guidebooks relevant to clarifying the definition of the homebound and medical necessity criteria (see Appendix A). While these sources provided a general context for the project, we relied primarily on the information gathered at the expert panel convened in New York City on February 7-8, 2000, to develop the OASIS algorithms.

Literature Review

We searched journal article databases as well as the web sites of a wide range of government agencies and private organizations to identify literature useful for defining and assessing Medicare home health eligibility. We also spoke with representatives of the FIs, staff at ASPE and HCFA, and industry experts about whether they knew of any algorithms, decision trees or similar approaches for classifying individuals as meeting or not meeting eligibility requirements for Medicare home health care. No models or prototypes useful for this project were identified. There were several articles, however, concerning individuals who were homebound or in need of skilled nursing or therapy services that proved useful when preparing for the expert panel. These articles are briefly summarized below.

Gilbert, Branch and Orav (1992) analyzed Massachusetts Health Care Panel Survey data on a cohort of 1,625 community-dwelling elders. As part of their analysis, individuals who were classified as homebound, based on the response to a question about the frequency with which they left home for any reason, were compared to other members of the cohort. The investigators found that homebound elders were significantly more dependent in activities of daily living (ADLs), more cognitively impaired, older, and more likely to be incontinent of bladder and bowel than other elders. Approximately 18% of the homebound group stated that they were bedridden for more than 50% of the day. Homebound individuals also were more likely to use in-home services, to have been hospitalized, and to have visited a physician within the preceding 12 months.

Mauser and Miller (1994) analyzed data from the 1992 Medicare Current Beneficiary Survey to profile Medicare home health users. The unweighted size of the study sample was 12,383 with most individuals among those who did not use home care services. The investigators found that home health users had significantly more limitations in ADLs than Medicare beneficiaries who were not home health users. The former averaged 1.3 and the latter 0.3 ADL limitations out of a total of five ADLs. The difference between the two groups in limitations in instrumental activities of daily living (IADLs) was even larger with users needing assistance to perform 2.5 and non-users needing assistance with 0.7 IADLs on average out of a total of six IADLs. Home health users with more than 100 visits during the year were more likely to have a primary diagnosis of diabetes while those with fewer than 100 visits were more likely to have a primary diagnosis of a fracture, dislocation or strain. The probability of using Medicare home health services increased with the number of ADLs and IADLs, and beneficiaries with multiple medical conditions were more likely to use home care than patients with only one medical condition.

In a study of 988 terminally ill individuals, Emanuel and colleagues (1999) found that roughly half of the persons interviewed (50.2%) reported that they were experiencing either a moderate amount or a great deal of pain. Dyspnea also was prominent in this group with 70.9% responding that they experienced shortness of breath when walking one block or less. Nearly 36% of the surveyed individuals were found to have either fecal or urinary incontinence. In addition, a large number needed assistance with transportation and homemaking (62.0% and 55.2% of the persons interviewed, respectively).

Finally, Neal (1998) describes how a comprehensive functional assessment should be conducted on home care clients and how a variety of factors affect functioning. For example, the author states that structural barriers and safety hazards (e.g., inadequate lighting, missing or unstable banisters, unstable steps, very steep steps) can impede independent functioning and that severe vision problems can lead to difficulty with ambulation. Cognitive impairment was identified as an important factor contributing to functional limitations. Depression, delirium, inability to focus on a task, or inability to remember the steps of a task can impair physical functioning because the primary cognitive problem affects the patient's ability to perform ADLs and IADLs. Wounds with bulky dressings or the wound itself also may limit functioning and so too shortness of breath depending on how severe the dyspnea is when resting, talking, eating or ambulating. Pain contributes to impaired function as well since a client in pain is less likely to participate in ADLs and IADLs. Neal identified the OASIS items for each component of a functional assessment but does not discuss the homebound or medical necessity criteria.

Expert Panel

A panel of home care clinical experts was convened to obtain information on factors that define patients who are homebound and factors that define patients who have a medical need for skilled nursing or skilled therapy services. We asked panel members to link these factors to OASIS and offer ideas on clustering the OASIS items to aid in the development of the algorithms for classifying patients as meeting or not meeting the homebound and medical necessity eligibility criteria. The specific objectives of the expert panel meeting were to:

  • Identify factors indicative of homebound and medical necessity status, respectively.

  • Refine the list of characteristics and rank them in order of importance using a nominal group process.

  • Cluster the items into various domains under the separate headings of homebound and medical necessity.

  • Crosswalk the indicators to OASIS and identify critical indicators that cannot be linked to OASIS.

  • Identify stand-alone items as well as combinations of OASIS items for determining if the homebound and medical necessity criteria have been met.

  • Suggest criteria for the development of the medical record review tools based on items that could not be linked to OASIS.

The expert panel consisted of nine clinicians (seven nurses, one rehabilitation therapist, and one physician). Four special guests attended the two-day meeting in addition to the panel: two individuals from different Medicare FI who offered their perspectives based on record audit experience, a representative from HCFA who offered insight into current federal regulations concerning the homebound and medical necessity criteria, and the Project Officer from ASPE. The remaining attendees were members of the project team from the Center for Home Care Policy and Research at the Visiting Nurse Service of New York. (See Appendix B for a list of the meeting participants.)

Prior to the meeting in New York, the nine panel members each received a background paper about the project and two blinded patient records. Each patient record was assigned to at least two panel members in order to ensure that the characteristics of the patients were thoroughly reviewed and discussed. The Visiting Nurse Service of New York provided the eight records, which were selected using stratified, random sampling to yield the most common patient diagnoses within the home care population (e.g., diabetes, heart failure, hypertension). (A brief summary of the patient records can be found in Appendix C.) The panel members were asked to read through the records before attending the meeting and to note the top three reasons why these patients should or should not be considered homebound and, similarly, the top three reasons why they were in need of skilled nursing or therapy services. The reasons identified by the panel members served as the starting point for discussions at the meeting about the factors that are most useful in determining homebound and medical necessity status.

The discussion during the morning session on the first day of the expert panel focused on the most useful factors for determining a beneficiary's homebound status. The afternoon session was devoted to the need for skilled care. Each session began with the nine panel members describing their reasons for concluding that patients did or did not meet the eligibility criterion under discussion. The reasons were arranged into several domains and then each panel member was allotted six votes and asked to choose the indicators he or she felt were most important. The votes could be used in any combination, including all for one indicator or spread over six indicators. The purpose of voting was to give the entire group a picture of general priorities and to motivate additional discussion rather than to derive a set of fixed criteria.

The second day of the expert panel was based on the work from the previous day. The results of the voting (i.e., the ranking of the potential indicators) were presented and reviewed to ensure that panel members still concurred, and revisions were made based on a discussion of the voting results. Indicators that were not sufficient on their own were then combined with other factors in those cases where panel members felt that two or more items considered together could be used to define patients who were homebound or in need of skilled care. Indicators were linked to their corresponding OASIS items, if possible, and the panel members verified whether there was a true correspondence between the indicators and OASIS items. For OASIS variables with multiple categories, the specific categories that define patients meeting one or both criteria also were discussed.

Homebound Indicators

The reasons panel members gave for concluding that patients met the homebound criterion were grouped into six domains: functional status, cognitive/emotional/behavioral status, informal support, environment, medical contraindication/clinical, and treatment regimen. The panel members identified five factors, and associated OASIS items, that by themselves indicate that a patient is highly likely to be homebound. In the functional status domain, patients who are bedbound clearly are homebound. In the cognitive/emotional/behavioral status domain, severe cognitive impairment (i.e., totally dependent due to disturbances such as constant disorientation, coma, persistent vegetative state, or delirium) was identified as a stand-alone item. In the environmental domain, patients who require transportation by ambulance were identified as homebound. Severe dyspnea and use of a ventilator at home (medical contraindication/clinical domain and treatment regimen domain, respectively) were the two remaining stand-alone items.

Panel members felt that physical functioning measures were important for determining whether a patient was homebound. However, with the exception of the bedbound indicator, the general consensus was that ADL and IADL measures alone were insufficient for deciding whether a beneficiary is homebound. Similarly, mild to moderate cognitive impairment as well as depression and anxiety were believed to be important but insufficient by themselves for determining homebound status.

Below is the list of homebound indicators identified by the expert panel. The numbers of the corresponding OASIS items follow the indicators when the expert panel agreed that an OASIS item or items match the indicators. Similarly, the category of multilevel OASIS items appears in parentheses when identified by the expert panel. The October 1998 B1 version of OASIS was in use at the time of the expert panel. (Data collection guidelines were the July 1999 version of Chapter 8 from HCFA's OASIS Implementation Manual.) The OASIS items in this report, however, are from the August 2000 (final version) of OASIS-B1. A copy of the August 2000 OASIS-B1 instrument is attached (see Appendix D).

Functional Status Domain
Bedbound MO690 (4,5); MO700(5)
Limited ability to transfer MO690 (2,3)
Limited ability to ambulate MO700 (2,3,4,5)
Limited ability to dress lower body MO650 (2,3)
Limited ability to dress upper body MO660 (2,3)
Limited ability to toilet MO680 (2,3,4)
Vision loss (blindness) MO390 (2)
Needs an assistive device to ambulate MO700 (1)
Unsteady gait MO700 (1)
Weight bearing limitations No OASIS item specified
Ambulates less than 20 feet No OASIS item specified
General weakness No OASIS item specified
History of falls (frequent and recent) No OASIS item specified
Significant medical/functional effect from leaving home (e.g., great fatigue) No OASIS item specified
Unable to leave home without assistance No OASIS item specified
Cognitive/Emotional/Behavioral Status Domain
Severe cognitive limitations MO560 (3,4)
Dementia/cognitive impairment MO560; MO570
Depression MO590
Anxiety MO580
Impaired decision-making MO220 (4)
Memory loss - Needs supervision MO220 (6)
Fear of falls/going out No OASIS item specified
Informal Support Domain
Lives alone MO340 (1)
Inadequate/ineffective caregiver support MO350; MO360; MO370; MO380; MO820
Environment Domain
Requires transportation by ambulance MO730 (2)
Stairs not easily navigable MO310 (1,3)
Obstructed doorways MO310 (4)
Lack of wheelchair egress No OASIS item specified
Uneven surfaces No OASIS item specified
Medical Contraindication/Clinical Domain
Severe dyspnea MO490 (2,3,4)
Pain exacerbated by leaving the home MO420; MO430
Wounds MO440-488
Agoraphobia No OASIS item specified
Severe angina No OASIS item specified
Depressed immune system No OASIS item specified
Severe edema No OASIS item specified
Congestive heart failure - Pulmonary edema No OASIS item specified
Psychoses No OASIS item specified
Treatment Regimen Domain
Home ventilator MO500 (2)
Certain wound care protocols MO440-488
Bed rest required No OASIS item specified

The expert panel, in addition, identified three unusual reasons why an individual may be homebound that cannot be easily proxied using OASIS:

  • immunosuppression requiring reverse isolation
  • infectious disease, contagion (e.g., tuberculosis)
  • certain wounds that could be worsened by transport

Each of these items can stand alone.

The expert panel also discussed patient characteristics that raise questions about whether a beneficiary is homebound; for example, patients:

  • With no coordination or balance problems
  • With no need for assistive devices
  • Who have the ability to walk independently on even surfaces
  • Who are independent with transportation
  • Who frequently go out of the home for non-medical reasons

Time constraints, however, precluded the development of a comprehensive list of indicators that could be used to flag individuals who automatically should be referred for medical record review regardless of whether the algorithm classifies them as homebound.

Finally, the expert panel discussed several issues and questions surrounding homebound status including:

  • To what extent should reasons for not leaving the house be incorporated into decisions about whether a person is homebound? Do we care why someone does not leave the house?

  • What impact will inconsistent and/or inadequate documentation have on determinations of who is homebound?

  • What happens if revisit notes do not support findings at initial assessment?

  • What happens when there is an expeditious discharge?

  • What level of functional impairment results in higher reimbursement under the new Medicare prospective payment system for home care?

  • How is minor deterioration at the start of care to be addressed?

  • How do you treat effort to get to medical care in the absence of accessible/affordable transportation?

Some of these issues and questions concern the difficulty of using data from a single point in time to determine whether a patient is homebound when functional limitations and clinical problems can fluctuate from day to day. Other issues and questions concern the environment in which care is provided. They all underscore the challenges inherent in eligibility determinations and the need for tools that focus attention on difficult cases.

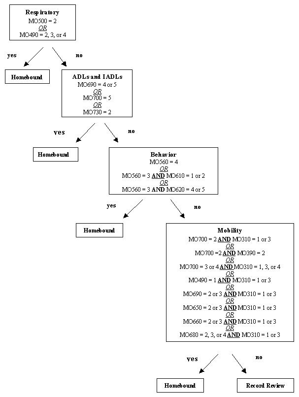
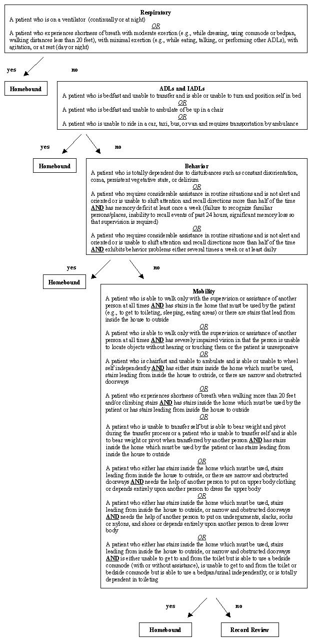
Homebound Algorithm

The information obtained at the expert panel meeting was analyzed by project staff and a decision tree constructed for classifying patients as homebound based solely on OASIS items. The algorithm was circulated to panel members for review and comment. The text version of the algorithm, revised after the receipt of comments, is presented in Figure 2 and the OASIS item version in Figure 3.

Medical Necessity Indicators

The potential factors for classifying patients as meeting the medical necessity criterion were grouped into the following domains: medication regimen, treatment/teaching, rehabilitation, psychiatry, current versus prior condition, and observation/assessment/evaluation. The panel identified a longer list of potential medical necessity indicators than that of potential homebound indicators. Four factors, and associated OASIS items, were identified that by themselves indicate that a patient is highly likely to need skilled care. Three of the four factors are from the treatment/teaching domain: (1) intravenous or infusion therapy; (2) wounds (i.e., presence of a pressure ulcer, stasis ulcer or surgical wound); and, (3) respiratory treatments (i.e., use of oxygen, a ventilator or continuous positive airway pressure). The fourth factor, poorly controlled symptoms, is from the observation/assessment/ evaluation domain. Panel members also felt that recent changes in patient condition (i.e., a deterioration) and changes in patient or informal caregiver capacity were important developments typically requiring assessment by a skilled nurse.

The potential indicators of medical necessity are listed below. Like the list of homebound indicators, the numbers of corresponding OASIS items follow the indicators when the expert panel identified OASIS items that match the indicators. Similarly, the category of multilevel OASIS items appears in parentheses when identified by the expert panel. The October 1998 B1 version of OASIS was in use at the time of the expert panel. (Data collection guidelines were the July 1999 version of Chapter 8 of HCFA's OASIS Implementation Manual.) The OASIS items in this report, however, are from the August 2000 (final version) of OASIS-B1. A copy of the August 2000 OASIS-B1 instrument is attached (see Appendix D).

Medication Regimen Domain
New medications MO780; MO790; MO800
Confusion (medication compliance issue) MO570
Anxiety (medication compliance issue) MO580
Management of oral medications (compliance issue) MO780
Management of other medications (compliance issue) MO790; MO800
Administration of medications MO780; MO790; MO800
Multiple/Complex medications No OASIS item specified
Treatment/Teaching Domain
Intravenous or infusion therapy MO250 (1)
Wounds MO440-488
Respiratory treatments (oxygen) MO500
Enterals MO250 (2,3)
Catheter care MO520
Ostomies MO550
Injections MO800
Equipment management MO810; MO820
Home safety MO320; MO330
Informal caregivers MO350; MO360; MO370; MO380
Tracheotomy No OASIS item specified
Teaching about medications No OASIS item specified
Rehabilitation Domain
Structural barriers MO310; MO320
Dyspnea MO490
Incontinence MO520
Functional decline within the last 14 days (current versus prior) MO640-710
Unsteady gait MO700
Special devices MO700 (1)
Chronic deterioration in performance of ADLs and IADLs (occupational therapy needed) No OASIS item specified
Occupational therapy for other deficits No OASIS item specified
Dysphasia (speech therapy needed) No OASIS item specified
Recent hip/knee replacement No OASIS item specified
Recent large bone fracture No OASIS item specified
Recent falls (2 falls and ER visit within 2 weeks) No OASIS item specified
New stroke No OASIS item specified
Teach transferring/walking (due to pain/cancer) No OASIS item specified
Physical therapy for other deficits No OASIS item specified
Psychiatry Domain
Confusion MO570
Anxiety MO580
Severe depression MO590
Behavioral issues MO600
Dementia MO610; MO560
Psychiatric nursing MO630
Agoraphobia No OASIS item specified
Psychoses No OASIS item specified
Current versus Prior Condition and Capacity Domain
Change in medical or treatment regiment MO200
Change in old condition (where skill makes a difference) MO220
Patient with limited capacity to understand MO400
Patient with limited expressive capacity MO410
Caregiver capacity changes No OASIS item specified
New caregiver No OASIS item specified
Observation/Assessment/Evaluation Domain
Poor control of diagnosis MO230; MO240
Severity of diagnosis MO230
Instability of condition MO240
Prognosis (poor) MO260
Pain/Functional impact due to pain MO420; MO430
Dyspnea MO490
Urinary status (incontinence, UTI) MO510; MO520; MO530
Weight loss MO600 (4)
Asthma No OASIS item specified
Edema No OASIS item specified
Exacerbation/Poor management No OASIS item specified
Manage/Evaluate care plan (non-custodial) No OASIS item specified

The expert panel discussed questions and issues that they felt were important in determining which OASIS items to include when formulating the medical necessity algorithm.

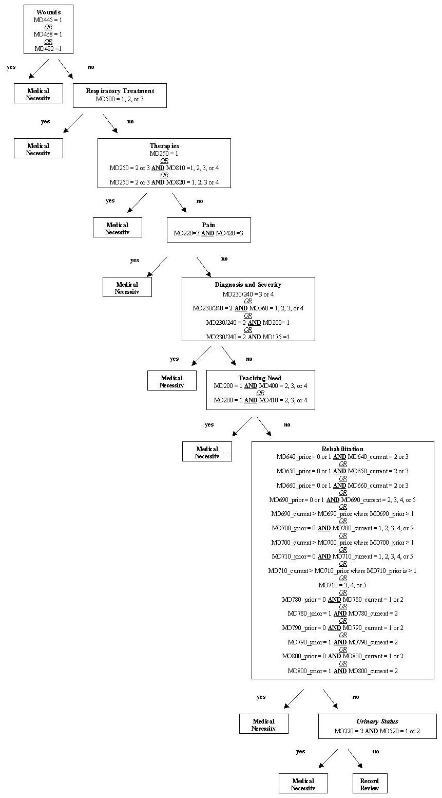
Medical Necessity Algorithm

The information obtained at the expert panel meeting was analyzed by project staff and a decision tree constructed for classifying patients as needing skilled nursing or skilled therapy services based solely on OASIS items. The algorithm was circulated to panel members for review and comment. The text version of the algorithm, revised after the receipt of comments, is presented in Figure 4 and the OASIS item version in Figure 5.

Other Issues Discussed by the Expert Panel

A number of other issues were discussed at the two-day meeting including:

  • Determining eligibility is a difficult and challenging task and variation is unavoidable.

  • FIs welcome any tools that may be helpful.

  • Given the multiplicity of patient conditions and circumstances, has everything been captured?

  • Neither an overly restrictive tool nor one that is too general will be helpful.

  • There is a potential to make providers, intermediaries, and government regulators adversarial with the outcome of this project; on the other hand, there is potential to focus disagreements on areas of true uncertainty.

  • It is important that people get the services they are eligible to receive.

  • We all should be open-minded to other data that might be useful to incorporate along with the data from OASIS. Is OASIS really complete?

  • There should be some valid association between indicators that are connected together in the algorithms.

  • We must be careful that there is no slipshod collection of the data.

  • There needs to be reliability and validity of the data.

  • There are problems with inconsistent records on a recurring basis.

These issues, concerns and perspectives informed the remainder of the project.


FIGURE 2: Text Version of Homebound Algorithm

Organizational Chart: Respiratory, ADLs and IADLS, Behavior, Mobility

 


FIGURE 3: OASIS Item Version of Homebound Algorithm

Organizational Chart: Respiratory, ADLs and IADLS, Behavior, Mobility


FIGURE 4: Text Version of Medical Necessity Algorithm

Organizational Chart: Wounds, Respiratory Treatment, Therapies, Pain, Diagnosis and Severity, Teaching Need, Rehabilitation, Urinary Status

 


FIGURE 5: OASIS Item Version of the Medical Necessity Algorithm

Organizational Chart: Wounds, Respiratory Treatment, Therapies, Pain, Diagnosis and Severity, Teaching Need, Rehabilitation, Urinary Status


IV. ALGORITHM TESTING

The algorithms were tested using OASIS data obtained from six home care agencies. Agencies with considerable OASIS experience were identified and a sample of six were selected to ensure geographic variation, differences in Medicare FI, and variation in size and ownership. The six agencies were located in Illinois, Massachusetts, New Jersey, New York, Texas and Washington State. They included hospital-based, freestanding, not for profit, for profit, rural and urban agencies.

Each agency provided the project team with all OASIS assessments, stripped of personal identifiers, for the last quarter of 1999 (October-December) that were completed and submitted to HCFA. One hundred start-of-care assessments were selected from the data submitted by each agency for a total sample size of 600 Medicare beneficiaries. A two-stage sampling methodology was used to ensure a mix of both short and long-stay patients. In the first stage a random sample of 100 start-of-care assessments was drawn from each agency's pool of Medicare patient assessments for beneficiaries who were not enrolled in a Medicare health maintenance organization (HMO). If the random sample for any agency resulted in fewer than 20 long-stay cases (i.e., cases where the stay was known to last more than 60 days since there was a follow-up recertification assessment), then the sample was redrawn using a stratified design. Specifically, a random sample of 80 short-stay cases and 20 long-stay cases was selected from the universe of short and long-stay cases, respectively. Stratified sampling was required for two agencies. One of the two only had 12 patients with stays known to have lasted longer than 60 days. All 12 cases were selected and the remaining 88 were sampled from the pool of short-stay cases.

Nine percent of the 600 Medicare beneficiaries sampled also were eligible for Medicaid at the time of the start-of-care assessment. Almost 5% had private insurance in addition to Medicare with 2.0% having private HMO or managed care coverage. Two agencies, unfortunately, did not include patient demographic items with the rest of their OASIS data. For the 400 patients on whom we have demographic information, 58.5% were female and 88.0% were age 65 or older with 21.0% over age 85. Although the sample is comprised of patients with a wide variety of conditions, the most common primary diagnoses included diabetes, hypertension, heart failure, cerebrovascular disease, decubitus ulcer and osteoarthrosis.

The OASIS algorithms were tested after creating an automated version of the algorithms in SAS. The results indicate that OASIS items can be used to identify patients highly likely to meet the homebound and medical necessity criteria at the start-of-care. Almost 50% of the 600 patients screened were classified as meeting the homebound criterion based solely on information from OASIS included in the homebound algorithm (Table 1). A much higher proportion of the 600 patients screened (89.0%) were classified as meeting the medical necessity criterion.

The relatively low proportion of patients classified as homebound was not surprising since the expert panel thought that this criterion was harder to define using OASIS data. Issues surrounding caregiver availability and assistance along with geographic differences in the feasibility of patients traveling to medical appointments (e.g., differences in distance to be traveled, availability of public transportation) make the homebound definition more difficult to clarify than the medical necessity criterion.

The results for each agency, with a few exceptions, were similar. Between 40% and 50% of patients in five of the six agencies were classified as homebound. In addition, greater than 90% of the patients from four of the six agencies were classified as meeting the medical necessity criterion. Agency E is the most atypical with a relatively high proportion of patients meeting the homebound criterion and a relatively low proportion meeting the medical necessity criterion. The differences among the six agencies were statistically significant (p=0.017 for the homebound comparison and p0.001 for the medical necessity comparison).

The domain (or level) of each algorithm where patients met the criterion is reported in Figure 6. Roughly half of the patients classified as homebound according to the OASIS algorithm met this eligibility criterion at the first of the four levels (i.e., the respiratory domain). Most of these patients experienced shortness of breath with minimal or moderate exertion. One-third were classified as homebound because of mobility limitations (the fourth level of the homebound algorithm).

Two out of eight domains account a great majority of the patients classified as meeting the medical necessity criterion. Slightly more than half of patients meeting the criterion did so because primary diagnosis symptoms were poorly controlled, or controlled with difficulty, in combination with other reasons for skilled care (level five of the algorithm). One-quarter met the criterion because they had pressure, stasis or surgical wounds (level 1).

It is important to note that the domain results are likely to be sensitive to the order of the domains in each algorithm. Patients were assessed in the order of the levels listed in Figure 6. Once a patient was classified as meeting the criterion, he or she was not assessed at any lower level of the algorithm. Thus, a patient could meet the requirements of more than one level of the algorithm. That information, however, is not presented here.

TABLE 1: Percent of Patients Meeting Each Criterion Using Only OASIS Data
    Homebound     Medical Necessity  
Agency A 45.0% 91.0%
Agency B 48.0% 95.0%
Agency C 50.0% 94.0%
Agency D 41.0% 81.0%
Agency E 64.0% 76.0%
Agency F 43.0% 97.0%
All Agencies   48.5% 89.0%

 

FIGURE 6: Domain Results for the Homebound and Medical Necessity Algorithms
Homebound Medical Necessity
Respiratory
152 patients
25.3% of the population
Wounds
151 patients
25.2% of the population
ADLs and IADLs
28 patients
4.7% of the population
Respiratory Treatment
48 patients
8.0% of the population
Behavior
10 patients
1.7% of the population
Therapies
11 patients
1.8% of the population
Mobility
101 patients
16.8% of the population
Pain
7 patients
1.2% of the population
Overall Capture
291 patients
48.5% of the population
Diagnosis and Severity
286 patients
47.7% of the population
  Teaching Need
2 patients
0.3% of the population
  Rehabilitation
28 patients
4.7% of the population
  Urinary Status
1 patient
0.2% of the population
  Overall Capture
534 patients
89.0% of the population

 

V. MEDICAL RECORD REVIEW

The purposes of the medical record review were to assess whether patients met the eligibility criteria even though they were not captured by the OASIS algorithms, to identify additional items for possible inclusion in the OASIS algorithms, and to identify common reasons for eligibility that cannot be proxied using OASIS. Two medical record review tools were constructed (i.e., a homebound tool and a medical necessity tool). Each tool includes a check-off list of clinical conditions identified by the expert panel as important for determining eligibility but OASIS data are lacking. In addition, there is a space to record other reasons why patients meet the eligibility criteria. A question follows concerning whether the patient met the homebound or medical necessity criterion (yes or no) in the opinion of the nurse reviewer. At the bottom of the form are two additional questions about the completeness of OASIS data and the patient record. (The medical record review tools are in Appendix E.)

Medical Record Review Sample

Out of the 600 patients in the study, 302 were not captured by one of the two OASIS algorithms (273 were not captured by the homebound algorithm and 29 were not captured by the medical necessity algorithm) while 37 were not captured by either algorithm (Table 2). We requested all records for the 60-day period following the start-of-care, or until discharge if the stay was less than 60 days, for the 338 individuals who were not captured by one or both algorithms. The 60-day period was selected to ensure that complete information was available for evaluating whether Medicare beneficiaries did or did not meet the homebound and medical necessity criteria.

Because the results for each agency were relatively similar, with a couple of exceptions, the number of records requested from each agency for chart review also was fairly similar -- ranging from a low of 49 to a high of 69. Agencies provided all but 16 of the 338 records requested. Agency F sent all requested records while at the other extreme Agency D did not send six of the 69 records requested (Table 2). All patient identifiers were masked to preserve confidentiality.

Medical Record Review Training

The records submitted by the agencies were reviewed by six experienced chart review nurses employed by the Visiting Nurse Service of New York. A lead nurse who worked on the project from its inception trained the five other nurses in the procedures to be followed in this project. Prior to the training, the lead nurse reviewed a small sample of charts from several agencies to test the medical record review tools and prepare for the training.

On the morning of the first day of the medical record review, the principal investigator described the overall purpose of the study and the importance of objective reviews based solely on evidence in the medical record. The lead nurse then selected a difficult and complex case and asked the five other nurses to review the same medical record. The nurses reviewed the record, checked off items on each tool when documented in the record, and made a professional judgment about whether the individual met the homebound and medical necessity criteria. The HIM-11 was available as a reference for the nurses to consult when making their determination.

After the five nurses finished reviewing the same chart, the lead nurse asked them to report on their evaluation including any problems they encountered. She then led a group discussion aimed at standardizing the process used to review the medical records and make judgments about whether patients met the homebound and medical necessity criteria.

Results of Nurses' Assessment of Eligibility

Results of the clinical determination of eligibility, based on medical record review, are presented in Table 3.

Over half of the patients who were not captured by the homebound algorithm were judged by the nurse reviewers to meet the Medicare homebound criterion based on a detailed chart review (171 out of a total of 296 homebound reviews, or 57.8%). Similarly, the nurses concluded that a little over half (52.4%) of the much smaller number of patients who were not captured by the medical necessity algorithm met this Medicare requirement. Specific findings from the medical record reviews are presented below.

Reasons Why Patients Are Homebound

The frequency with which nurses checked one or more of the clinical conditions listed on the homebound medical record review tool is reported in Table 4 by whether or not the nurse reviewer concluded that the patient was indeed homebound.

In some cases, nurses checked an indicator but did not conclude that the patient met the homebound requirement. Therefore, screening the medical records of patients not captured by the OASIS algorithm to see whether one or more of the listed conditions is present is not sufficient. A comprehensive clinical review of patient records will be necessary using the homebound medical record review tool developed in this project.

Over half of the 171 patients that nurses judged to be homebound had "general weakness or somnolence." There was a consensus among the nurse reviewers that many of these patients had problems ambulating as well as dependence in several ADL and IADL items. Specifically, many of these individuals used a device (e.g., walker) and/or required human supervision or assistance to ambulate (MO700=1 or 2). In addition, they had one or more of the following limitations that are often related to impaired mobility:

  • Unable to bathe or shower without the assistance of another person (MO670=2 or 3);
  • Unable to get to or from the toilet but able to use a bedside commode (MO680=2 or 3);
  • Unable to transfer self (MO690=2, 3, 4 or 5);
  • Unable to prepare light meals (MO720=1 or 2);
  • Unable to go shopping (MO760=2 or 3).

These combinations were not included in the homebound algorithm but the individual items are being collected as part of OASIS. Examples follow of homebound patients with general weakness or somnolence and one or more of the combinations indicated.

Mr. A

Mr. A is an alert and oriented, but forgetful, 97-year-old male, who has a primary diagnosis of congestive heart failure and a secondary diagnosis of urinary retention. This patient was admitted to the hospital for a pacemaker placement and is reported to have lower extremity weakness and fatigues easily. He uses an indwelling Foley catheter for urine output. The patient is unable to ambulate to the toilet even with a device and therefore uses a bedside commode (MO680=2). Mr. A ambulates unsteadily and uses a walker for assistance. He requires the assistance of the walker and/or human assistance to ambulate on any uneven surfaces or stairs (MO700=1).

Mr. A lives with his child, who assists him with all ADLs and IADLs and offers him companionship. The patient requires one person to assist him with dressing his upper and lower extremities (MO650=2 and MO660=2). He requires the presence of another person during bathing in the tub/shower (MO670=3) and is totally unable to do housekeeping, laundry or to physically go out to shop (MO750=2, MO740=3 and MO760=2, respectively). Although Mr. A is able to feed himself, he is unable to prepare light meals such as cereal or a sandwich on a regular basis (MO720=1). Mr. A also gets confused and forgetful in unfamiliar or stressful conditions and requires some assistance with taking his oral medications.

Mr. B

Mr. B is an 81-year-old male patient, admitted with a primary diagnosis of renal failure and secondary diagnoses of uncontrolled hypertension, peripheral vascular disease, dementia and an abdominal aortic aneurysm prior to this admission. The patient's daughter is temporarily living with him. Mr. B is forgetful, anxious and confused at times. He had a seizure in the past that left him with left-sided weakness, and he also has paresthesias (numbness in extremities). Mr. B is new to receiving hemodialysis and is not coping well with his new limitations.

Mr. B requires assistance with dressing his upper and lower extremities (MO650=2 and MO660=2), he needs another person to assist throughout bathing (MO670=3), he needs a device or one person's assistance to get to the toilet (MO680=1) or to transfer (MO690=1). Even with a cane or walker, he requires the supervision of one person to do any walking (MO700=2), since his gait is unsteady and he has poor endurance. Although he is able to feed himself, Mr. B is unable to prepare any light meals (MO720=2) and is unable to do any laundry (MO740=2), housekeeping (MO750=4), or shopping (MO760=3).

Mrs. C

Mrs. C is an alert and oriented 83-year-old female patient with a primary diagnosis of malignant esophageal cancer and secondary diagnoses of dysphasia and gout. She had a portocatheter and jejunostomy tube (J-tube) placed during her last hospitalization. Mrs. C lives with her spouse and daughter, who are supportive. Her endurance is poor, and she is easily fatigued and has pain that affects her activity daily, although not constantly. She is able to groom herself independently and is able to dress her upper and lower extremities if someone lays out the clothes (MO650=1, MO660=1). The patient requires someone to assist her periodically during bathing (MO670=2), and she requires the use of her walker and/or someone's assistance to transfer from one location to another (MO690=1), to get to the toilet (MO680=1) and to ambulate on uneven surfaces/stairs (MO700=1). Although this patient is able to feed herself a soft/liquid diet, she is unable to prepare her meals (MO720=2). When she is receiving supplemental nutrition via her J-tube, she is able to monitor the equipment but requires someone else to manage the equipment. This patient is also unable to do laundry (MO740=2) or housekeeping (MO750=3) and is unable to shop even if assisted (MO760=2).

Mrs. D

Mrs. D is an 89-year-old female patient with a primary diagnosis of progressive supranuclear palsy and a secondary diagnosis of dysphagia. She lives with her spouse who is her primary caregiver. Mrs. D is not always alert or oriented, is easily distracted and does get confused in new or complex situations. The patient has moderate difficulty hearing and understanding simple one step instructions. She has an unsteady gait, decreased strength in both upper and lower extremities, poor coordination, poor balance and poor endurance. It is reported that Mrs. D has pain that affects her activity/movement, but this does not occur on a daily basis.

Mrs. D requires someone's assistance to groom and dress herself (MO640=2, MO650=2 and MO660=1, respectively), to intermittently assist during bathing (MO670=2) and to remain with her at all times during ambulation (MO700=2). She needs the assistance of a walker and/or minimal assistance of a person to transfer and get to the toilet (MO690=1 and MO680=1, respectively). The patient is able to feed herself but requires intermittent assistance from another person (MO710=1), and she has difficulty with placing calls (poor manual dexterity) (MO770=2). Mrs. D is totally unable to prepare or reheat any light meals (MO720=2). She is unable to do any laundry (MO740=2), housekeeping (MO750=4) or to go out to shop, even with assistance (MO760=3).

Analysis of Functional Limitations of Homebound Patients

We conducted a statistical analysis to determine how many of the patients who were not captured by the OASIS homebound algorithm had a mobility limitation (MO700= 1 or 2) as well as a limitation in one or more of the five functional measures listed above. There were 196 patients in this category. While nurse reviewers did conclude that a little over two-thirds of these individuals met the homebound criterion (134 of the 196 patients, or 68.4%), there still was a sizeable minority (31.6%) who nurses decided did not meet the homebound criterion (Table 5).

The results are tantalizing, however, since the proportion of patients classified as meeting the homebound algorithm increases with number of dependencies in the functional measures analyzed. More research is needed to identify additional OASIS items that can be included in the homebound algorithm to increase the percent of individuals correctly classified as meeting the homebound criterion while not increasing the number of "false positives" captured by the algorithm.

Reasons Why Patients Need Skilled Nursing or Therapy Services

The frequency with which nurses checked one or more of the clinical conditions listed on the medical necessity record review tool is reported in Table 6 by whether or not the nurse reviewer concluded that the patient met the medical necessity criterion. Like the homebound results, nurses in some cases checked an indicator but did not conclude that the patient met the medical necessity criterion. Simply screening the medical records of patients who were not captured by the medical necessity algorithm to see whether one or more of the listed conditions is present is not sufficient.

Of the 63 records reviewed to determine whether they met the medical necessity criterion, 25 patients were identified as having documented gross motor skill deficits and physical therapy rehabilitation potential. Seventeen patients who were judged to meet the medical necessity criterion required physical therapy for balance training, gait training, and muscle strengthening. Examples follow of patients who have gross motor skill deficits and physical therapy rehabilitation potential.

Mr. E

Mr. E is an 89-year-old male patient with a primary diagnosis of pneumonia and a secondary diagnosis of congestive heart failure. The patient's spouse tries to assist him with personal care, ADLs and environmental supports but is frail herself, so paid help was hired. Mr. E receives companionship from his wife, and she also serves as his health care and financial advocate. He is alert and oriented to person but not always oriented to time or place, and he requires reminders and repetition to assist him, particularly under stressful or unfamiliar conditions. The patient also has moderate difficulty hearing and slight difficulty expressing himself verbally.

Mr. E has an irregular heart rhythm, abnormal lung sounds (rales bilaterally) and bilateral pedal edema. He has generalized weakness, tires easily, becomes short of breath with exertion and has poor to fair endurance. The patient needs his clothes laid out in order to dress himself (MO650=1 and MO660=1, respectively). He is unable to bathe in a shower or tub (MO670=4) and needs one person's assistance to stand up from a seated position or sit up from a lying position (MO690=1). Mr. E ambulates using a rolling walker and requires a contact guard for safety (MO700=1). He has decreased range of motion to his right ankle according to the physical therapist and his movements are uncoordinated. The patient is able to feed himself but requires meal set up. He is totally unable to do laundry (MO740=2), housekeeping (MO750=4) or shopping (MO760=3) and is dependent on someone to administer his oral medications.

Mr. F

Mr. F is a 61-year-old male patient with a primary diagnosis of osteomyelitis of the right lower extremity with an open wound and secondary diagnoses of non-insulin dependant diabetes mellitus, pleural effusion, hypertension, chronic renal failure, diabetic retinopathy and iron deficiency anemia. He is status post a right, below the knee amputation, and he has an open lesion at this surgical site. Mr. F is alert and oriented to person, place and time and lives at home with his wife.

Mr. F has right lumbar pain affecting his activity on a daily but not constant basis. He also has lower extremity weakness and ambulates with either his crutches or walker. His gait is unsteady and he has poor balance. Mr. F is able to groom and dress himself independently, but he is unable to bathe in a tub or shower without intermittent assistance from another person and/or a transfer bench (MO690=2). He requires the use of the crutches or walker to ambulate and requires someone's assistance to negotiate uneven surfaces, go outdoors or to use stairs (MO700=1). The physical therapist documented that the patient is unsafe to ambulate outdoors with his devices. This patient is unable to do laundry or housekeeping independently (MO740=2 and MO750=2, respectively) and can not go shopping, even if assisted by another person (MO760=3).

Ms. G

Ms. G is a 79-year-old female patient admitted to home care after a hospital stay that extended from 10-21-1999 through 12-2-1999. Her primary diagnosis is sigmoid adenocarcinoma, and she also has a history of uterine cancer, which has metastasized to her colon. This patient has a stage II decubitus ulcer on her left buttock due to her lack of independent mobility. She had been using an indwelling catheter for urine output prior to this hospital admission and also had a sigmoidectomy resulting in a colostomy and a left ureteral stent placed on 11-6-1999. Her overall prognosis is said to be fair. She is alert and oriented to person, place and time. Ms. G lives with her daughter who assists her with ADLs and IADLs.

Ms. G has left shoulder pain causing decreased range of motion in that shoulder. She is very weak and has poor balance and endurance. She sleeps in a hospital bed with the side rails up and requires a wheelchair and assistance of another person to go outdoors (MO700=1). Ms. G completely depends on another person for grooming and dressing (MO640=3, MO650=3 and MO660=3, respectively). She needs someone with her at all times to transfer out of a seated position (MO690=3), to ambulate on even surfaces or to bathe in the shower (MO700=3 and MO670=3, respectively). In fact, at times Ms. G is unable to assist in transferring herself at all. She is unable to walk to her toilet so she has a bedside commode (MO680=2) and wears adult diapers. The patient is able to feed herself if someone prepares and sets up her meals (MO720=1). She is totally unable to do laundry (MO740=2), housekeeping (MO750=4) or shopping (MO760=3). Ms. G is also unable to regularly use the telephone and can only carry on a limited conversation. She is completely dependant on her daughter to manage colostomy care and needs assistance to take her oral medications.

Response to Medical Record Review Data Quality Questions

Two questions concerning completeness of OASIS data and the patient record were included at the bottom of the medical record review tools (see Table 7).

The data quality problems encountered by the nurses conducting the medical record reviews were substantial. Conflicting information was a common problem. We asked the nurse reviewers to indicate whether OASIS items were "obviously miscoded" and "yes" was checked in 45.9% of the homebound reviews and 52.4% of the medical necessity reviews. However, in many of these cases the nurse noted that there was a discrepancy between an OASIS item and another part of the patient record but they were unable to determine which of the two was correct. The nurses also reported relatively high levels of conflicting information in chart notes and gaps between notes. These are examples of what we collectively refer to as "inadequate charting." (Missing OASIS items and incomplete patient records occurred relatively infrequently.) The data quality problems encountered by the nurses were relatively similar regardless of whether nurses were determining homebound status or the need for skilled care.

TABLE 2: Medical Record Review Sample
  Number of Patients Not Captured by Algorithms Number of Records
Homebound
Algorithm Only
Medical Necessity
Algorithm Only
Both
Algorithms
Requested Received
Agency A 49 3 6 58 55
Agency B 48 1 4 53 48
Agency C 45 1 5 51 50
Agency D 50 10 9 69 63
Agency E 25 13 11 49 48
Agency F 55 1 2 58 58
All Agencies 273 29 37 338 322

 

TABLE 3: Number (Percent) of Patients Meeting and Not Meeting Each Criterion
  Homebound Medical Necessity
Number (%)
Meeting Criterion
Number (%) Not
Meeting Criterion
Number (%)
Meeting Criterion
Number (%) Not
Meeting Criterion
Agency A 29 (54.7) 24 (45.3) 6 (75.0) 2 (25.0)
Agency B 25 (53.2) 22 (46.8) 1 (20.0) 4 (80.0)
Agency C 38 (76.0) 12 (24.0) 3 (50.0) 3 (50.0)
Agency D 29 (53.7) 25 (46.3) 9 (52.9) 8 (47.1)
Agency E 17 (48.6) 18 (51.4) 13 (54.2) 11 (45.8)
Agency F 33 (57.9) 24 (42.1) 1 (33.3) 2 (66.7)
All Agencies 171 (57.8) 125 (42.2) 33 (52.4) 30 (47.6)
NOTE: A total of 296 charts were reviewed to determine homebound status and 63 to determine whether the medical necessity criterion was met.

 

TABLE 4: Frequency of Conditions Related to Homebound Status
  Meets Homebound Criterion Total
Yes No
Severe Angina on Exertion with Physician Monitoring Cardiac Status 1 3 4
Depressed Immune System with Physician's Order Requiring Minimal Contact (Reverse Isolation) 0 0 0
Infectious Disease Requiring Isolation 1 0 1
Weight Bearing Limitations 29 4 33
Bed Rest Required 2 0 2
General Weakness or Somnolence 100 33 133
Currently Being Treated for Severe Anxiety, Fear of Falls, Fear of Going Outside or Some Other Mental Disorder Keeping the Patient at Home 11 3 14
Some Other Medical Contraindication Against Leaving Home 29 0 29
Total 173 43 216

 

TABLE 5: Functional Limitations among Patients who Were Not Captured by the Homebound Algorithm
  Chart Review Results
Met Criterion Criterion Not Met Total
Shopping Only 1 27 (61.4%) 17 (38.6%) 44 (100.0%)
Shopping and Meal Preparation 2 54 (70.1%) 23 (29.9%) 77 (100.0%)
Shopping, Meal Preparation and Bathing 3 26 (74.3%) 9 (25.7%) 35 (100.0%)
Other Combination 4 27 (67.5%) 13 (32.5%) 40 (100.0%)
Total 134 (68.4%) 62 (31.6%) 196 (100.0%)
NOTE: All patients included in the analysis had an OASIS level of one or 2 one the ambulation item (MO700).
  1. MO760 = 2 or 3.
  2. MO760 = 2 or 3 and MO720 = 1 or 2.
  3. MO760 = 2 or 3 and MO720 = 1 or 2 and MO670 = 3.
  4. Some other combination of limitations in shopping (MO760 = 2 or 3), meal preparation (MO720 = 1 or 2), bathing (MO670 = 2 or 3), toileting (MO680 = 2 or 3) and/or transferring (MO690 - 2, 3, 4 or 5).

 

TABLE 6: Frequency of Conditions Related to Need for Skilled Care
  Meets Medical Necessity Criterion Total
Yes No
On Oxygen and Still Short of Breath 0 0 0
Teaching Use of Specialized Respiratory Devices (Suctioning, Inhalation, Peak-flow Meters) 1 0 1
Severe Asthma 2 0 2
Poorly Controlled Diagnosis with Repeat Hospitalization 4 0 4
Poorly Controlled Diagnosis with Patient Needing Frequent Adjustment in Treatment and Dose Monitoring 8 2 10
Documented Speech Deficits and Speech Therapy Rehabilitation Potential 0 0 0
Documented Small Motor Skill Deficits and Occupational Therapy Rehabilitation Potential 5 1 6
Documented Gross Motor Skill Deficits and Physical Therapy Rehabilitation Potential 17 8 25
Patient Immobilization Required for Treatment of Fracture 0 1 1
New Tracheotomy 0 0 0
Complex Case with Teaching Required for Patient to Safely Manage at Home 7 0 7
Total 44 12 56

 

TABLE 7: Response to Data Quality Questions
  Homebound Medical Necessity
“Yes” Response to Question #1: Were OASIS start-of-care assessment items obviously miscoded or missing? 1 136 45.9% 33 52.4%
“Yes” Response to Question #2: Was the patient record clearly incomplete? 2 120 40.5% 34 54.0%
Both Questions Checked “Yes” 79 26.7% 25 39.7%
Either Question Checked “Yes” 177 59.8% 42 66.7%
NOTE: A total of 296 charts were reviewed to determine homebound status and 63 to determine whether the medical necessity criterion was met.
  1. Nurse reviewers in many cases indicated that OASIS items disagreed with information in the chart but were not sure which source was correct.
  2. Nurse reviewers usually indicated that the problem was “inadequate charting” and not that part of the record was missing.

 

VI. SUMMARY OF RESULTS AND STUDY LIMITATIONS

The results of this project show that the two OASIS-based algorithms work well. The medical necessity algorithm works best with 89.0% of the 600 patients studied classified as meeting this Medicare home health benefit eligibility requirement. Just short of half of the patients studied were classified as homebound by the other OASIS algorithm.

When the algorithm and medical record review results are combined, 77.0% of the 600 patients were classified as homebound and 94.5% met the medical necessity criterion (Table 8). Agencies failed to send only 16 of the 322 records requested. The results would not change substantially, therefore, even if we had access to the missing records.

There are three important study limitations. First, the algorithms and medical record review tools only were tested on a small non-random sample of Medicare beneficiaries who were not enrolled in Medicare HMOs. How well the tools developed here will work on a more representative sample needs to be determined. Second, the study was limited to start-of-care assessments. It was beyond the scope of this project to test the algorithms and tools on patients remaining in home care beyond 60 days. Finally, the data analyzed were from the final quarter of 1999 -- the middle of a period of substantial change in the home care market. The extent to which the case mix of Medicare patients served by agencies has changed over the last 16 months is unclear.

There are two other potential limitations that need to be acknowledged. Nurses from a single agency conducted the medical record reviews. While they all had extensive chart review experience, the reliability of the medical record review findings is uncertain since a rigorous assessment of inter-rater reliability was beyond the scope of the project. It would be useful in any future study to have nurses from different geographic locations and types of organizations (e.g., Medicare FIs, home health agencies) conduct the record reviews with an assessment of inter-rater reliability a component of the project.

Finally, the quality of the OASIS data also may be a limitation given the extent of the data quality problems reported by the nurses conducting the medical record reviews. Agencies only were mandated to collect OASIS data starting in July 1999. Although the six agencies that participated in the study had considerable experience using OASIS, efforts were still under way at some of these agencies to standardize and improve their OASIS data collection procedures.

TABLE 8: Summary of Results
  Homebound Medical Necessity
OASIS Algorithm Results
Met criterion 291 48.5% 534 89.0%
Criterion not met 309 51.5% 66 11.0%
Record Review Results
Met criterion 171 28.5% 33 5.5%
Criterion not met 125 20.8% 30 5.0%
No record received 13 2.2% 3 0.5%
Combined Results
Met criterion 462 77.0% 567 94.5%
Criterion not met 125 20.8% 30 5.0%
No record received 13 2.2% 3 0.5%
Total 600 100.0% 600 100.0%

 

VII. CONCLUSIONS AND RECOMMENDATIONS

Overall, we believe that both the algorithms and medical record review tools have the potential to be very useful to Medicare FIs and providers (e.g., home care agencies and physicians) after additional testing and refinement. The algorithms can be used to ascertain whether an individual meets the two Medicare eligibility requirements and the record review tools to reinforce the importance of documenting the need for home care for patients who are not captured by the algorithms. Agencies, for example, could incorporate the algorithms into their routine OASIS data processing procedures and assess Medicare beneficiaries' eligibility according to the algorithms and the adequacy of medical record documentation prior to OASIS submission to HCFA.

The extent of the data quality problems encountered by the nurses who conducted medical record reviews was a surprise. Conflicting information (e.g., between the OASIS instrument and other parts of the patient record) was relatively common. A similar problem was reported in a recently published OIG study of the nursing home resident assessment system (OIG Report OEI-02-99-00040). Based on a review of the medical records of 631 nursing home residents, OIG found that an average of 17% of the 406 Minimum Data Set (MDS) fields differed from the patient's medical record. One of the highest rates of difference was found in Section G of the MDS (Physical Functioning and Structural Problems) where an average of 31% of the fields differed from the patient's record. Our findings and those of OIG underscore the importance of clearly defined items in uniform patient data collection systems as well as ongoing training to ensure that the information is reliable and accurate.

It is important to remember, in summary, that substantial work still needs to be done to assess the ability of the algorithms and medical record review tools to bring consistency to eligibility determinations across the United States as a whole. Assuming the tools developed here (or subsequent versions of the tools) are validated on a more representative sample, it will be necessary to provide extensive education and training to ensure that the OASIS items used in the algorithms are completed correctly. Monitoring over time also should be conducted to ensure that the tools continue to be useful and serve their intended function. Ultimately, that function is to help Medicare FIs to standardize their eligibility determinations and to help home care agencies, physicians and consumers better understand the two eligibility criteria. They are not intended to change current policy. The HIM-11 will continue to define who is or is not eligible to receive the Medicare home health benefit, until such time as Congress decides otherwise.

We recommend as the next step in the development of the algorithms and medical record review tools additional testing using a large, nationally representative sample of Medicare beneficiaries. We obtained data from a heterogeneous group of agencies with regard to geographic location, agency ownership, profit status, rural/urban location and size; nevertheless, the six agencies in this study are not representative of all home care agencies. It is important to test the tools developed in this project on a representative sample to ensure that the results are the same for the country as a whole. In addition, we recommend that the algorithms and medical record review tools be tested at the point that patients are recertified for Medicare home health care (i.e., at 60-day intervals following admission to home care). While we believe the algorithms and medical record review tools will work well with follow-up assessments, this remains to be empirically tested.

We also recommend further research to improve the "sensitivity" of the homebound algorithm (i.e., the ability of the algorithm to capture individuals who truly are homebound) and assess the specificity of both algorithms (i.e., the ability of the algorithms to exclude individuals who do not meet the criteria). A large proportion of the patients judged to be homebound by nurses based on chart review had "general weakness or somnolence." Our results suggest that with further work it may be possible to identify at least some of the individuals with these conditions who are homebound using a combination of OASIS items that could be added to the algorithm. In general, more research is needed to refine the homebound algorithm to increase the percent of individuals correctly classified. Research also should be conducted to determine the extent to which the OASIS algorithms capture "false positives." The recommendations of an expert panel of home care clinicians were followed when we constructed the OASIS algorithms. It still is possible, however, that some patients meeting the eligibility criteria according to the algorithms could be judged not to be homebound or in need of skilled care when their medical records are carefully reviewed. The extent of any such false positives should be determined as well as the reasons for false positives. Depending on the results, the algorithms should be refined to address this problem.

 

APPENDIX A. BIBLIOGRAPHY

Ackermann RJ, Huyck TH. Physician reimbursement issues in home health care. American Family Physician. 1999;60(1):53-54.

Adams CE, Wilson M, Haney M, Short R. Using the outcome-based quality improvement model and OASIS to improve HMO patients' outcomes. Home Healthcare Nurse. 1998;16(6):395-401.

Barry CB. Assessing the older adult in the home. Home Healthcare Nurse. 1998;16(8):519-29.

Bishop CE, Kerwin J, Wallack SS. The Medicare home health benefit: implications of recent payment changes. Journal of Long Term Home Health Care: Care Management Journals. 1999;1(3):1-20.

Czarnik B. Medicare coverage issues. Home Healthcare Nurse. 1997;15(7):512-4.

Dittbrenner H. Medicare's Catch 22. Caring. 1998;17(7):32-3.

Emanuel EJ, Fairclough DL, Slutsman J, Alpert H, Baldwin D, Emanuel LL. Assistance from family members, friends, paid care givers, and volunteers in the care of terminally ill patients. The New England Journal of Medicine. 1999;341(13):956-963.

Evans R, Connis R, Haselkorn, J. Evaluating rehabilitation medicine: effects on survival, function, and home care. Home Health Care Services Quarterly. 1997;16(3):35-53.

Federal Register. Medicare Program; Medicare Coverage of Home Health Services, Medicare Conditions of Participation, and Home Health Aide Supervision. 1994;59(243):65482-98.

General Accounting Office (GAO). Medicare Home Health Utilization Expands While Program Controls Deteriorate. GAO Report HEHS-96-16. March 1996.

Gilbert GH, Branch LG, Orav EJ. An operational definition of homebound. Health Services Research. 1992;26(6):787-800.

Harris MD. The home health aide as a member of the home healthcare team. Home Healthcare Nurse. 1997;15(11):773-5.

Health Care Financing Administration (HCFA). Medicare Home Health Benefit. October 1999.

Health Care Financing Administration (HCFA). Frequently Asked Questions for Home Health. March 1999.

Health Care Financing Administration (HCFA). Home Health Claim Denials by State Quarters 1 & 2 & 3 for 1999. March 1999.

Health Care Financing Administration (HCFA). HIM-11, Chapter II -- Coverage of Services (undated).

Homecare Direction. Skills of the Nurse Are Key to Reasonable, Necessary Procedures. December 1998.

Homecare Direction. Homebound Study Sheds Light on Psych Homecare Patients. 1998;7(8):1.

Homecare Direction. Four Facts Determine Reasonable, Necessary Assessment. 1998;6(11):1-2.

Homecare Direction. Four Components Support Homebound Status. 1998;6(8):4-8.

Horton-Deutsch SL, Farran CJ, Loukissa D, Fogg L. Who are these patients and what services do they receive? Home Healthcare Nurse. 1997;15(12):846-54.

Ireys HT, Wehr E, Cooke RE (Health Resources and Services Administration). Defining Medical Necessity: Strategies for Promoting Access to Quality Care for Persons with Developmental Disabilities, Mental Retardation, and Other Special Health Care Needs. September 1999.

Marrelli TM, Hilliard LS. Documentation and effective patient care planning. Home Care Providers. 1996;1(4):198-201.

Mauser E, Miller NA. A profile of home health users in 1992. Health Care Financing Review. 1994;16(1):17-33.

McGuire MJ. Documenting progress in home care. American Journal of Occupational Therapy. 1997;51(6):436-45.

Medicare Payment Advisory Commission (MedPAC). Access to Home Health Services. In, Report to the Congress: Selected Medicare Issues. June 1999. (pages 105-16)

Milone-Nuzzo P. Beyond venipuncture as the qualifying service for Medicare: seeing the forest for the trees. Home Healthcare Nurse. 1998;16(3):177-82.

Montauk SL. Home health care. American Family Physician. 1998;58(7):1608-14.

Moore KJ. Medicare update: certifying home health care services requires extra caution. Family Practice Management. 1997;4(7):20, 25-6.

National Association for Home Care. Homecare: Regulatory Reports HIM-11 Coverage Guide for Field Staff (undated).

Neal LJ. Functional assessment of the home health client. Home Healthcare Nurse. 1998;16(10):670-77.

O'Donohue WJ Jr. Prescribing home oxygen therapy. What the primary physician needs to know. Archives of Internal Medicine. 1992;152(4):746-8.

Office of the Inspector General (OIG). Nursing Home Resident Assessment: Quality of Care. Report OEI-02-99-00040. December 2000.

Office of the Inspector General (OIG). Review of Medicare Home Health Services in California, Illinois, New York, and Texas. Report A-04-99-01194. October 1999.

Office of the Inspector General (OIG). Operation Restore Trust: Audit of Medicare Home Health Service in California, Illinois, New York, and Texas. Report A-04-96-02121. July 1997.

Office of the Inspector General (OIG). Results of the Audit of Medicare Home Health Services in Florida. Report A-04-94-02087. June 1995.

Randall DA. The role of the Medicare Fiscal-Intermediary and the Regional Home Health Intermediary, Part 1. Journal Of Nursing Administration. 1992;22(6):47-53.

Randall DA. The role of the Medicare Fiscal-Intermediary and the Regional Home Health Intermediary, Part 2. Journal Of Nursing Administration. 1992;22(7/8):24-9.

Schwartzberg JG, Stein-Hulin J. Home health care: surmounting the obstacles to Medicare coverage. Geriatrics. 1991;46(4):28-37.

Shalala DE. "Homebound" A Criterion for Eligibility for Medicare Home Health Care. Report to Congress. April 1999.

Smits HL, Feder J, Scanlon W. Medicare's nursing home benefit: variations in interpretation. The New England Journal of Medicine. 1987;307(14)855-62.

Stoker J. Defining homebound status. Home Healthcare Nurse. 1999;17(2):119.

Stone, D. Care and trembling. Caring. 1999;18(3):8-10,12-4.

Stone RI, Murtaugh CM. The elderly population with chronic functional disability: implications for home care eligibility. The Gerontologist. 1990;30(4)491-96.

St Pierre M. Diversity in delivery: the Medicare home health benefit. Caring. 1996;15(12):10-14.

U.S. Department of Commerce, National Technical Information Service. PACE Rate Work: Final Report. December 1998.

U.S. Department of Health and Human Services; Office of the Assistant Secretary for Planning and Evaluation; Division of Disability, Aging, and Long-Term Care. Medicare's Post-Acute Care Benefit: Background, Trends, and Issues to be Faced. January 1999. [http://aspe.hhs.gov/daltcp/reports/mpacbes.htm]

Visiting Nurse Association of Maryland. Provider's Guide to Medicare Coverage Issues. (undated).

Weiss RL, Milone-Nuzzo P. A tool to assess homebound status. Home Healthcare Nurse. 1999;17(8):486-90.

Weitzman SM. Legal and policy aspects of home care coverage. Annals of Health Law. 1992;1:1-35.

 

APPENDIX B: LIST OF PEOPLE ATTENDING THE EXPERT PANEL MEETING

Panel Members
Dorothy Baker, PhD, RN, CS
Program on Aging
Yale School of Medicine
Susan Neary, PhD, RN, CS
Assistant Professor of Graduate Nursing
Simmons College
Peter A. Boling, MD
Professor of Internal Medicine
Virginia Commonwealth University
Katie Riley
Vice President of Clinical Services
Advocate Home Health Services
Debra DeFrates, RN, RD, MA
Manager of Clinical Services
Family Home Care
Margaret Stapleton
Bronx Regional Compliance Specialist
Visiting Nurse Service of New York
Betty L. Gordon, RN, BSN, MPH
Vice President Operations Consulting
Simione Central Consulting
Emily Tripp
Group Vice President Home Care and Hospice
Visiting Nurse Association of Texas
Linda Krulish, MHS, PT
Owner
Home Therapy Services
 
Representatives from Medicare Intermediaries
Lynn Couture, RN
Senior Medical Claims Reviewer
Medicare Medical Review and Appeals
Associated Hospital Service of Maine
Mary Jane Schultz
Manager of Medical Review
Palmetto Government Benefits
Representatives from Federal Agencies
Kamal Hijjazi, PhD
Project Officer
Office of Disability, Aging and Long-Term Care Policy
Office of the Assistant Secretary for Planning and Evaluation
Department of Health and Human Services
Kathleen Walch, RN, BSN
Nurse Consultant
Center for Health Plans and Providers
Health Care Financing Administration
Department of Health and Human Services
Project Staff from the Visiting Nurse Service of New York
Lori Bruno
Project Assistant
Center for Home Care Policy and Research
Penny Feldman, PhD
Director
Center for Home Care Policy and Research
Amy Clark
Research Assistant
Center for Home Care Policy and Research
Christopher Murtaugh, PhD
Associate Director
Center for Home Care Policy and Research
Sarah Donelson, MA
Director of Outcomes Assessment and Reporting
Center for Home Care Policy and Research
Stephanna Zeppie, RN, MA, LNC, CPHQ
Quality Assurance Coordinator
Quality Care Management

 

APPENDIX C: PATIENT VIGNETTES PREPARED FOR THE EXPERT PANEL

Record #1

The patient is an 89-year-old male with a principal diagnosis of hypertension. He lives with his spouse, who is the primary caregiver, and another family member. He has frequent falls and dizziness, and he limits going outside the house due to fear, although he can ambulate with the aid of a cane or walker. Throughout his time of care, the patient had an improving appetite with some difficulty swallowing and a normal blood pressure level. He has a foley catheter, a wound on the heel of his foot, and dyspnea when walking more than 20 feet or climbing stairs. Assistance is necessary when bathing and dressing and for medication management, but the patient is able to toilet, transfer, and feed himself independently.

Record #2

This patient is a 94-year-old female with a principal diagnosis of coronary heart failure. She also has angina, peptic ulcer, and asthma. The patient lives alone in a home found to have no safety hazards, and she has a home attendant during the day. She can manage quite well with regard to ADLs, except for needing her clothing to be laid out, and she needs assistance from another person with most IADLs. The patient can ambulate with the aid of a cane but must be in the presence of another person in case of falls. She also has dyspnea when walking more than 20 feet or climbing stairs. All of her neuro/emotional/behavioral responses are normal, yet progressive forgetfulness and confusion are present and, as a result, the patient has difficulty adhering to her prescribed medication regimen which her physician recently changed.

Record #3

This patient is an 84-year-old female with principal diagnoses of hypertension and depression. She lives with another family member, who is taking the lead responsibility as the patient's caregiver. During the time of care, the patient had a fall in which her wrist was broken and she fears going outside the home due to worrying about falling again. With regard to ADLs, the patient is able to transfer and ambulate independently but needs help with all others and with most IADLs. She has difficulty with the outside stairs of the home, and has dyspnea when walking more than 20 feet or climbing stairs. There is daily pain but it is not constant and can be controlled by using medication. She follows her prescribed medical regimen.

Record #4

This patient is a 71-year-old female with a principal diagnosis of stroke. She has weakness on her right side, but she received physical therapy for ambulation and all of the set goals were attained. The patient lives with a family member who is the primary caregiver. She has dyspnea when walking more than 20 feet or climbing stairs, she can not perform most ADLs and IADLs without the assistance of another person, and the patient is considered unsafe when left alone due to confusion. Her caregiver had to administer all medications due to the patient's confused mental state. Medication was prescribed to alieve her confusion, and her behavior greatly improved.

Record #5

This patient is a 93-year-old male with a principal diagnosis of congestive heart failure. The primary caregiver is his spouse who has also displayed forgetfulness and anxiousness. He has dyspnea at rest and uses oxygen at home. The patient has an unsteady gait but can ambulate with the aid of a cane. He also has depressed feelings and difficulties sleeping for which he takes medication. The patient is able to accomplish many ADLs and IADLs without assistance or with minimal assistance. All medications must be administered by the caregiver, however.

Record #6

The patient is an 89-year-old woman with a primary diagnosis of diabetes. She also has atrial fibrillation, asthma, and abnormal weight loss. The patient lives alone, but has relatives, friends, and paid help who come into the home. There is no primary caregiver, however. The patient experiences dyspnea with minimal exertion, has no pain, and has an unsteady gait and needs to use a cane. All neuro/emotional/ behavioral responses are normal. She is able to perform most ADLs/IADLs independently or with minimal assistance. She has some difficulty adhering to her medical regimen and has a fluctuating appetite.

Record #7

This patient is an 86-year-old woman with a primary diagnosis of osteoarthritis with other pertinent diagnoses including congestive heart failure, hypertension, coronary heart disease, and dementia. The patient lives alone in an unkempt apartment, and she has difficulty with the stairs in front of her house. She limits going outdoors because of a fear of falling. Relatives and friends assist in caregiving. She has blurred vision, and can not read medicine labels. She uses a cane to ambulate and needs some type of assistance with most ADLs and IADLs. The patient experiences daily pain that is not constant and rates that pain as having a level of four. She gets confused, has memory deficit and has impaired decision-making skills.

Record #8

This patient is a 70-year-old male with a primary diagnosis of prostate cancer and bone metastasis. He has pain that he rates a level of 4 on a 1-10 scale. He uses a walker for ambulation, yet still has an unsteady gait. Furthermore, he has a loss of balance and dyspnea when walking distances less than 20 feet. The patient lives alone, but his children come and help him 1-2 times per week with ADLs. He needs help with dressing, bathing, transferring, ambulation and toileting, but can use a bedpan. The patient can independently take prescribed medications. He has no neuro/emotional/ behavioral difficulties, but received coping skill instruction to enable him to deal more effectively with his illness. At the time of discharge from home care, the patient was entering the hospital to undergo back surgery.

 

APPENDIX D: OUTCOME AND ASSESSMENT INFORMATION SET

Outcome and Assessment Information Set OASIS-B1 (August 2000)

START OF CARE VERSION
(also used for Resumption of Care Following Inpatient Stay)

Items to be Used at thie Time Point----------------------------------------------------------------------------------------------------M0010-M0825

CLINICAL RECORD ITEMS

(M0010) Agency Medicare Provider Number:   __ __ __ __ __ __
(M0012) Agency Medicaid Provider Number:   __ __ __ __ __ __ __ __ __ __ __ __ __ __ __
Branch Identification (Optional, for Agency Use)
(M0014) Branch State: __ __
(M0016) Branch ID Number: __ __ __ __ __ __ __ __ __ __ (Agency-assigned)
(M0020) Patient ID Number: __ __ __ __ __ __ __ __ __ __ __ __ __ __ __ __ __ __ __ __
(M0030) Start of Care Date: __ __ /__ __ /__ __ __ __
(month / day / year)
(M0032) Resumption of Care Date: __ __ /__ __ /__ __ __ __
(month / day / year)
□ NA - Not Applicable
(M0040) Patient Name: __ __ __ __ __ __ __ __ __ __ __ __ __ __ __ __ __ __ __ __ __ __ __ __ __ __ __ __ __ __ __ __ __ __
(First/MI/Last/Suffix)
(M0050) Patient State of Residence: __ __
(M0060) Patient Zip Code: __ __ __ __ __ __ __ __ __
(M0063) Medicare Number: __ __ __ __ __ __ __ __ __ __ __ __
(including suffix)
□ NA - No Medicare
(M0064) Social Security Number: __ __ __ - __ __ - __ __ __ __ □ UK - Unknown or Not Available
(M0065) Medicaid Number: __ __ __ __ __ __ __ __ __ __ __ __ __ __ □ NA - No Medicaid
(M0066) Birth Date: __ __ /__ __ /__ __ __ __
(month / day / year)
(M0069) Gender:
  □ 1 - Male
□ 2 - Female
(M0072) Primary Referring Physician ID: __ __ __ __ __ __ __ __ __ __ □ UK - Unknown or Not Available
(M0080) Discipline of Person Completing Assessment:
  □ 1-RN □ 2-PT □ 3-SLP/ST □ 4-OT
(M0090) Date Assessment Completed: __ __ /__ __ /__ __ __ __
(month / day / year)
(M0100) This Assessment is Currently Being Completed for the Following Reason:
 
Start/Resumption of Care
□ 1 - Start of care-further visits planned
□ 2 - Start of care-no further visits planned
□ 3 - Resumption of care (after inpatient stay)
 
Follow-Up
□ 4 - Recertification (follow-up) reassessment [ Go to M0150 ]
□ 5 - Other follow-up [ Go to M0150 ]
Transfer to an Inpatient Facility
□ 6 - Transferred to an inpatient facility-patient not discharged from agency [ Go to M0150 ]
□ 7 - Transferred to an inpatient facility-patient discharged from agency [ Go to M0150 ]
Discharge from Agency -- Not to an Inpatient Facility
□ 8 - Death at home [ Go to M0150 ]
□ 9 - Discharge from agency [ Go to M0150 ]
□ 10 - Discharge from agency-no visits completed after start/resumption of care assessment [ Go to M0150 ]

DEMOGRAPHICS AND PATIENT HISTORY

(M0140) Race/Ethnicity (as identified by patient): (Mark all that apply.)
  □ 1 - American Indian or Alaska Native
□ 2 - Asian
□ 3 - Black or African-American
□ 4 - Hispanic or Latino
□ 5 - Native Hawaiian or Pacific Islander
□ 6 - White
□ UK - Unknown
(M0150) Current Payment Sources for Home Care: (Mark all that apply.)
  □ 0 - None; no charge for current services
□ 1 - Medicare (traditional fee-for-service)
□ 2 - Medicare (HMO/managed care)
□ 3 - Medicaid (traditional fee-for-service)
□ 4 - Medicaid (HMO/managed care)
□ 5 - Workers' compensation
□ 6 - Title programs (e.g., Title III, V, or XX)
□ 7 - Other government (e.g., CHAMPUS, VA, etc.)
□ 8 - Private insurance
□ 9 - Private HMO/managed care
□ 10 - Self-pay
□ 11 - Other (specify) ______________________________________________
□ UK - Unknown
(M0160) Financial Factors limiting the ability of the patient/family to meet basic health needs: (Mark all that apply.)
  □ 0 - None
□ 1 - Unable to afford medicine or medical supplies
□ 2 - Unable to afford medical expenses that are not covered by insurance/Medicare (e.g., copayments)
□ 3 - Unable to afford rent/utility bills
□ 4 - Unable to afford food
□ 5 - Other (specify) ______________________________________________
(M0175) From which of the following Inpatient Facilities was the patient discharged during the past 14 days? (Mark all that apply.)
  □ 1 - Hospital
□ 2 - Rehabilitation facility
□ 3 - Skilled nursing facility
□ 4 - Other nursing home
□ 5 - Other (specify) ______________________________________________
□ NA - Patient was not discharged from an inpatient facility [ If NA, go to M0200 ]
(M0180) Inpatient Discharge Date (most recent): __ __ /__ __ /__ __ __ __
(month / day / year)
□ UK - Unknown
(M0190) Inpatient Diagnoses and ICD code categories (three digits required; five digits optional) for only those conditions treated during an inpatient facility stay within the last 14 days (no surgical or V-codes):
  Inpatient Facility Diagnosis
a. _____________________________
b. _____________________________
ICD
(__ __ __ . __ __)
(__ __ __ . __ __)
(M0200) Medical or Treatment Regimen Change Within Past 14 Days: Has this patient experienced a change in medical or treatment regimen (e.g., medication, treatment, or service change due to new or additional diagnosis, etc.) within the last 14 days?
  □ 0 - No [ If No, go to M0220 ]
□ 1 - Yes
(M0210) List the patient's Medical Diagnoses and ICD code categories (three digits required; five digits optional) for those conditions requiring changed medical or treatment regimen (no surgical or V-codes):
  Changed Medical Regimen Diagnosis
a. _____________________________
b. _____________________________
c. _____________________________
d. _____________________________
ICD
(__ __ __ . __ __)
(__ __ __ . __ __)
(__ __ __ . __ __)
(__ __ __ . __ __)
(M0220) Conditions Prior to Medical or Treatment Regimen Change or Inpatient Stay Within Past 14 Days: If this patient experienced an inpatient facility discharge or change in medical or treatment regimen within the past 14 days, indicate any conditions which existed prior to the inpatient stay or change in medical or treatment regimen. (Mark all that apply.)
  □ 1 - Urinary incontinence
□ 2 - Indwelling/suprapubic catheter
□ 3 - Intractable pain
□ 4 - Impaired decision-making
□ 5 - Disruptive or socially inappropriate behavior
□ 6 - Memory loss to the extent that supervision required
□ 7 - None of the above
□ NA - No inpatient facility discharge and no change in medical or treatment regimen in past 14 days
□ UK - Unknown
(M0230/M0240) Diagnoses and Severity Index: List each medical diagnosis or problem for which the patient is receiving home care and ICD code category (three digits required; five digits optional - no surgical or V-codes) and rate them using the following severity index. (Choose one value that represents the most severe rating appropriate for each diagnosis.)
  □ 0 - Asymptomatic, no treatment needed at this time
□ 1 - Symptoms well controlled with current therapy
□ 2 - Symptoms controlled with difficulty, affecting daily functioning; patient needs ongoing monitoring
□ 3 - Symptoms poorly controlled, patient needs frequent adjustment in treatment and dose monitoring
□ 4 - Symptoms poorly controlled, history of rehospitalizations
 
(M0230) Primary Diagnosis
a. _____________________________
ICD
(__ __ __ . __ __)
Severity Rating
□ 0 □ 1 □ 2 □ 3 □ 4
 
(M0240) Other Diagnoses
b. _____________________________
c. _____________________________
d. _____________________________
e. _____________________________
f. _____________________________
ICD
(__ __ __ . __ __)
(__ __ __ . __ __)
(__ __ __ . __ __)
(__ __ __ . __ __)
(__ __ __ . __ __)
Severity Rating
□ 0 □ 1 □ 2 □ 3 □ 4
□ 0 □ 1 □ 2 □ 3 □ 4
□ 0 □ 1 □ 2 □ 3 □ 4
□ 0 □ 1 □ 2 □ 3 □ 4
□ 0 □ 1 □ 2 □ 3 □ 4
(M0250) Therapies the patient receives at home: (Mark all that apply.)
  □ 1 - Intravenous or infusion therapy (excludes TPN)
□ 2 - Parenteral nutrition (TPN or lipids)
□ 3 - Enteral nutrition (nasogastric, gastrostomy, jejunostomy, or any other artificial entry into the alimentary canal)
□ 4 - None of the above
(M0260) Overall Prognosis: BEST description of patient's overall prognosis for recovery from this episode of illness.
  □ 0 - Poor: little or no recovery is expected and/or further decline is imminent
□ 1 - Good/Fair: partial to full recovery is expected
□ UK - Unknown
(M0270) Rehabilitative Prognosis: BEST description of patient's prognosis for functional status.
  □ 0 - Guarded: minimal improvement in functional status is expected; decline is possible
□ 1 - Good: marked improvement in functional status is expected
□ UK - Unknown
(M0280) Life Expectancy: (Physician documentation is not required.)
  □ 0 - Life expectancy is greater than 6 months
□ 1 - Life expectancy is 6 months or fewer
(M0290) High Risk Factors characterizing this patient: (Mark all that apply.)
  □ 1 - Heavy smoking
□ 2 - Obesity
□ 3 - Alcohol dependency
□ 4 - Drug dependency
□ 5 - None of the above
□ UK - Unknown

LIVING ARRANGEMENTS

(M0300) Current Residence:
  □ 1 - Patient's owned or rented residence (house, apartment, or mobile home owned or rented by patient/couple/significant other)
□ 2 - Family member's residence
□ 3 - Boarding home or rented room
□ 4 - Board and care or assisted living facility
□ 5 - Other (specify) ______________________________________________
(M0310) Structural Barriers in the patient's environment limiting independent mobility: (Mark all that apply.)
  □ 0 - None
□ 1 - Stairs inside home which must be used by the patient (e.g., to get to toileting, sleeping, eating areas)
□ 2 - Stairs inside home which are used optionally (e.g., to get to laundry facilities)
□ 3 - Stairs leading from inside house to outside
□ 4 - Narrow or obstructed doorways
(M0320) Safety Hazards found in the patient's current place of residence: (Mark all that apply.)
  □ 0 - None
□ 1 - Inadequate floor, roof, or windows
□ 2 - Inadequate lighting
□ 3 - Unsafe gas/electric appliance
□ 4 - Inadequate heating
□ 5 - Inadequate cooling
□ 6 - Lack of fire safety devices
□ 7 - Unsafe floor coverings
□ 8 - Inadequate stair railings
□ 9 - Improperly stored hazardous materials
□ 10 - Lead-based paint
□ 11 - Other (specify) ___________________________________________________________________
(M0330) Sanitation Hazards found in the patient's current place of residence: (Mark all that apply.)
  □ 0 - None
□ 1 - No running water
□ 2 - Contaminated water
□ 3 - No toileting facilities
□ 4 - Outdoor toileting facilities only
□ 5 - Inadequate sewage disposal
□ 6 - Inadequate/improper food storage
□ 7 - No food refrigeration
□ 8 - No cooking facilities
□ 9 - Insects/rodents present
□ 10 - No scheduled trash pickup
□ 11 - Cluttered/soiled living area
□ 12 - Other (specify) ___________________________________________________________________
(M0340) Patient Lives With: (Mark all that apply.)
  □ 1 - Lives alone
□ 2 - With spouse or significant other
□ 3 - With other family member
□ 4 - With a friend
□ 5 - With paid help (other than home care agency staff)
□ 6 - With other than above

SUPPORTIVE ASSISTANCE

(M0350) Assisting Person(s) Other than Home Care Agency Staff: (Mark all that apply.)
  □ 1 - Relatives, friends, or neighbors living outside the home
□ 2 - Person residing in the home (EXCLUDING paid help)
□ 3 - Paid help
□ 4 - None of the above [ If None of the above, go to M0390 ]
□ UK - Unknown [ If Unknown, go to M0390 ]
(M0360) Primary Caregiver taking lead responsibility for providing or managing the patient's care, providing the most frequent assistance, etc. (other than home care agency staff):
  □ 0 - No one person [ If No one person, go to M0390 ]
□ 1 - Spouse or significant other
□ 2 - Daughter or son
□ 3 - Other family member
□ 4 - Friend or neighbor or community or church member
□ 5 - Paid help
□ UK - Unknown [ If Unknown, go to M0390 ]
(M0370) How Often does the patient receive assistance from the primary caregiver?
  □ 1 - Several times during day and night
□ 2 - Several times during day
□ 3 - Once daily
□ 4 - Three or more times per week
□ 5 - One to 2 times per week
□ 6 - Less often than weekly
□ UK - Unknown
(M0380) Type of Primary Caregiver Assistance: (Mark all that apply.)
  □ 1 - ADL assistance (e.g., bathing, dressing, toileting, bowel/bladder, eating/feeding)
□ 2 - IADL assistance (e.g., meds, meals, housekeeping, laundry, telephone, shopping, finances)
□ 3 - Environmental support (housing, home maintenance)
□ 4 - Psychosocial support (socialization, companionship, recreation)
□ 5 - Advocates or facilitates patient's participation in appropriate medical care
□ 6 - Financial agent, power of attorney, or conservator of finance
□ 7 - Health care agent, conservator of person, or medical power of attorney
□ UK - Unknown

SENSORY STATUS

(M0390) Vision with corrective lenses if the patient usually wears them:
  □ 0 - Normal vision: sees adequately in most situations; can see medication labels, newsprint.
□ 1 - Partially impaired: cannot see medication labels or newsprint, but can see obstacles in path, and the surrounding layout; can count fingers at arm's length.
□ 2 - Severely impaired: cannot locate objects without hearing or touching them or patient nonresponsive.
(M0400) Hearing and Ability to Understand Spoken Language in patient's own language (with hearing aids if the patient usually uses them):
  □ 0 - No observable impairment. Able to hear and understand complex or detailed instructions and extended or abstract conversation.
□ 1 - With minimal difficulty, able to hear and understand most multi-step instructions and ordinary conversation. May need occasional repetition, extra time, or louder voice.
□ 2 - Has moderate difficulty hearing and understanding simple, one-step instructions and brief conversation; needs frequent prompting or assistance.
□ 3 - Has severe difficulty hearing and understanding simple greetings and short comments. Requires multiple repetitions, restatements, demonstrations, additional time.
□ 4 - Unable to hear and understand familiar words or common expressions consistently, or patient nonresponsive.
(M0410) Speech and Oral (Verbal) Expression of Language (in patient's own language):
  □ 0 - Expresses complex ideas, feelings, and needs clearly, completely, and easily in all situations with no observable impairment.
□ 1 - Minimal difficulty in expressing ideas and needs (may take extra time; makes occasional errors in word choice, grammar or speech intelligibility; needs minimal prompting or assistance).
□ 2 - Expresses simple ideas or needs with moderate difficulty (needs prompting or assistance, errors in word choice, organization or speech intelligibility). Speaks in phrases or short sentences.
□ 3 - Has severe difficulty expressing basic ideas or needs and requires maximal assistance or guessing by listener. Speech limited to single words or short phrases.
□ 4 - Unable to express basic needs even with maximal prompting or assistance but is not comatose or unresponsive (e.g., speech is nonsensical or unintelligible).
□ 5 - Patient nonresponsive or unable to speak.
(M0420) Frequency of Pain interfering with patient's activity or movement:
  □ 0 - Patient has no pain or pain does not interfere with activity or movement
□ 1 - Less often than daily
□ 2 - Daily, but not constantly
□ 3 - All of the time
(M0430) Intractable Pain: Is the patient experiencing pain that is not easily relieved, occurs at least daily, and affects the patient's sleep, appetite, physical or emotional energy, concentration, personal relationships, emotions, or ability or desire to perform physical activity?
  □ 0 - No
□ 1 - Yes

INTEGUMENTARY STATUS

(M0440) Does this patient have a Skin Lesion or an Open Wound? This excludes "OSTOMIES."
  □ 0 - No [ If No, go to M0490 ]
□ 1 - Yes
(M0445) Does this patient have a Pressure Ulcer?
  □ 0 - No [ If No, go to M0468 ]
□ 1 - Yes
(M0450) Current Number of Pressure Ulcers at Each Stage: (Circle one response for each stage.)
 
Pressure Ulcer Stages Number of Pressure Ulcers
a) Stage 1: Nonblanchable erythema of intact skin; the heralding of skin ulceration. In darker-pigmented skin, warmth, edema, hardness, or discolored skin may be indicators. 0 1 2 3 4 or more
b) Stage 2: Partial thickness skin loss involving epidermis and/or dermis. The ulcer is superficial and presents clinically as an abrasion, blister, or shallow crater. 0 1 2 3 4 or more
c) Stage 3: Full-thickness skin loss involving damage or necrosis of subcutaneous tissue which may extend down to, but not through, underlying fascia. The ulcer presents clinically as a deep crater with or without undermining of adjacent tissue. 0 1 2 3 4 or more
d) Stage 4: Full-thickness skin loss with extensive destruction, tissue necrosis, or damage to muscle, bone, or supporting structures (e.g., tendon, joint capsule, etc.) 0 1 2 3 4 or more
e) In addition to the above, is there at least one pressure ulcer that cannot be observed due to the presence of eschar or a nonremovable dressing, including casts?
□ 0 - No
□ 1 - Yes
(M0460) Stage of Most Problematic (Observable) Pressure Ulcer:
  □ 1 - Stage 1
□ 2 - Stage 2
□ 3 - Stage 3
□ 4 - Stage 4
□ NA - No observable pressure ulcer
(M0464) Status of Most Problematic (Observable) Pressure Ulcer:
  □ 1 - Fully granulating
□ 2 - Early/partial granulation
□ 3 - Not healing
□ NA - No observable pressure ulcer
(M0468) Does this patient have a Stasis Ulcer?
  □ 0 - No [ If No, go to M0482 ]
□ 1 - Yes
(M0470) Current Number of Observable Stasis Ulcer(s):
  □ 0 - Zero
□ 1 - One
□ 2 - 2
□ 3 - Three
□ 4 - Four or more
(M0474) Does this patient have at least one Stasis Ulcer that Cannot be Observed due to the presence of a nonremovable dressing?
  □ 0 - No
□ 1 - Yes
(M0476) Status of Most Problematic (Observable) Stasis Ulcer:
  □ 1 - Fully granulating
□ 2 - Early/partial granulation
□ 3 - Not healing
□ NA - No observable stasis ulcer
(M0482) Does this patient have a Surgical Wound?
  □ 0 - No [ If No, go to M0490 ]
□ 1 - Yes
(M0484) Current Number of (Observable) Surgical Wounds: (If a wound is partially closed but has more than one opening, consider each opening as a separate wound.)
  □ 0 - Zero
□ 1 - One
□ 2 - 2
□ 3 - Three
□ 4 - Four or more
(M0486) Does this patient have at least one Surgical Wound that Cannot be Observed due to the presence of a nonremovable dressing?
  □ 0 - No
□ 1 - Yes
(M0488) Status of Most Problematic (Observable) Surgical Wound:
  □ 1 - Fully granulating
□ 2 - Early/partial granulation
□ 3 - Not healing
□ NA - No observable surgical wound

RESPIRATORY STATUS

(M0490) When is the patient dyspneic or noticeably Short of Breath?
  □ 0 - Never, patient is not short of breath
□ 1 - When walking more than 20 feet, climbing stairs
□ 2 - With moderate exertion (e.g., while dressing, using commode or bedpan, walking distances less than 20 feet)
□ 3 - With minimal exertion (e.g., while eating, talking, or performing other ADLs) or with agitation
□ 4 - At rest (during day or night)
(M0500) Respiratory Treatments utilized at home: (Mark all that apply.)
  □ 1 - Oxygen (intermittent or continuous)
□ 2 - Ventilator (continually or at night)
□ 3 - Continuous positive airway pressure
□ 4 - None of the above

ELIMINATION STATUS

(M0510) Has this patient been treated for a Urinary Tract Infection in the past 14 days?
  □ 0 - No
□ 1 - Yes
□ NA - Patient on prophylactic treatment
□ UK - Unknown
(M0520) Urinary Incontinence or Urinary Catheter Presence:
  □ 0 - No incontinence or catheter (includes anuria or ostomy for urinary drainage) [ If No, go to M0540 ]
□ 1 - Patient is incontinent
□ 2 - Patient requires a urinary catheter (i.e., external, indwelling, intermittent, suprapubic) [ Go to M0540 ]
(M0530) When does Urinary Incontinence occur?
  □ 0 - Timed-voiding defers incontinence
□ 1 - During the night only
□ 2 - During the day and night
(M0540) Bowel Incontinence Frequency:
  □ 0 - Very rarely or never has bowel incontinence
□ 1 - Less than once weekly
□ 2 - One to three times weekly
□ 3 - Four to six times weekly
□ 4 - On a daily basis
□ 5 - More often than once daily
□ NA - Patient has ostomy for bowel elimination
□ UK - Unknown
(M0550) Ostomy for Bowel Elimination: Does this patient have an ostomy for bowel elimination that (within the last 14 days): a) was related to an inpatient facility stay, or b) necessitated a change in medical or treatment regimen?
  □ 0 - Patient does not have an ostomy for bowel elimination.
□ 1 - Patient's ostomy was not related to an inpatient stay and did not necessitate change in medical or treatment regimen.
□ 2 - The ostomy was related to an inpatient stay or did necessitate change in medical or treatment regimen.

NEURO/EMOTIONAL/BEHAVIORAL STATUS

(M0560) Cognitive Functioning: (Patient's current level of alertness, orientation, comprehension, concentration, and immediate memory for simple commands.)
  □ 0 - Alert/oriented, able to focus and shift attention, comprehends and recalls task directions independently.
□ 1 - Requires prompting (cuing, repetition, reminders) only under stressful or unfamiliar conditions.
□ 2 - Requires assistance and some direction in specific situations (e.g., on all tasks involving shifting of attention), or consistently requires low stimulus environment due to distractibility.
□ 3 - Requires considerable assistance in routine situations. Is not alert and oriented or is unable to shift attention and recall directions more than half the time.
□ 4 - Totally dependent due to disturbances such as constant disorientation, coma, persistent vegetative state, or delirium.
(M0570) When Confused (Reported or Observed):
  □ 0 - Never
□ 1 - In new or complex situations only
□ 2 - On awakening or at night only
□ 3 - During the day and evening, but not constantly
□ 4 - Constantly
□ NA - Patient nonresponsive
(M0580) When Anxious (Reported or Observed):
  □ 0 - None of the time
□ 1 - Less often than daily
□ 2 - Daily, but not constantly
□ 3 - All of the time
□ NA - Patient nonresponsive
(M0590) Depressive Feelings Reported or Observed in Patient: (Mark all that apply.)
  □ 1 - Depressed mood (e.g., feeling sad, tearful)
□ 2 - Sense of failure or self reproach
□ 3 - Hopelessness
□ 4 - Recurrent thoughts of death
□ 5 - Thoughts of suicide
□ 6 - None of the above feelings observed or reported
(M0600) Patient Behaviors (Reported or Observed): (Mark all that apply.)
  □ 1 - Indecisiveness, lack of concentration
□ 2 - Diminished interest in most activities
□ 3 - Sleep disturbances
□ 4 - Recent change in appetite or weight
□ 5 - Agitation
□ 6 - A suicide attempt
□ 7 - None of the above behaviors observed or reported
(M0610) Behaviors Demonstrated at Least Once a Week (Reported or Observed): (Mark all that apply.)
  □ 1 - Memory deficit: failure to recognize familiar persons/places, inability to recall events of past 24 hours, significant memory loss so that supervision is required
□ 2 - Impaired decision-making: failure to perform usual ADLs or IADLs, inability to appropriately stop activities, jeopardizes safety through actions
□ 3 - Verbal disruption: yelling, threatening, excessive profanity, sexual references, etc.
□ 4 - Physical aggression: aggressive or combative to self and others (e.g., hits self, throws objects, punches, dangerous maneuvers with wheelchair or other objects)
□ 5 - Disruptive, infantile, or socially inappropriate behavior (excludes verbal actions)
□ 6 - Delusional, hallucinatory, or paranoid behavior
□ 7 - None of the above behaviors demonstrated
(M0620) Frequency of Behavior Problems (Reported or Observed) (e.g., wandering episodes, self abuse, verbal disruption, physical aggression, etc.):
  □ 0 - Never
□ 1 - Less than once a month
□ 2 - Once a month
□ 3 - Several times each month
□ 4 - Several times a week
□ 5 - At least daily
(M0630) Is this patient receiving Psychiatric Nursing Services at home provided by a qualified psychiatric nurse?
  □ 0 - No
□ 1 - Yes

ADL/IADLs

For M0640-M0800, complete the "Current" column for all patients. For these same items, complete the "Prior" column only at start of care and at resumption of care; mark the level that corresponds to the patient's condition 14 days prior to start of care date (M0030) or resumption of care date (M0032). In all cases, record what the patient is able to do.
(M0640) Grooming: Ability to tend to personal hygiene needs (i.e., washing face and hands, hair care, shaving or make up, teeth or denture care, fingernail care).
 
Prior Current  
0 - Able to groom self unaided, with or without the use of assistive devices or adapted methods.
1 - Grooming utensils must be placed within reach before able to complete grooming activities.
2 - Someone must assist the patient to groom self.
3 - Patient depends entirely upon someone else for grooming needs.
  UK - Unknown
(M0650) Ability to Dress Upper Body (with or without dressing aids) including undergarments, pullovers, front-opening shirts and blouses, managing zippers, buttons, and snaps:
 
Prior Current  
0 - Able to get clothes out of closets and drawers, put them on and remove them from the upper body without assistance.
1 - Able to dress upper body without assistance if clothing is laid out or handed to the patient.
2 - Someone must help the patient put on upper body clothing.
3 - Patient depends entirely upon another person to dress the upper body.
UK - Unknown
(M0660) Ability to Dress Lower Body (with or without dressing aids) including undergarments, slacks, socks or nylons, shoes:
 
Prior Current  
0 - Able to obtain, put on, and remove clothing and shoes without assistance.
1 - Able to dress lower body without assistance if clothing and shoes are laid out or handed to the patient.
2 - Someone must help the patient put on undergarments, slacks, socks or nylons, and shoes.
3 - Patient depends entirely upon another person to dress lower body.
UK - Unknown
(M0670) Bathing: Ability to wash entire body. Excludes grooming (washing face and hands only).
 
Prior Current  
0 - Able to bathe self in shower or tub independently.
1 - With the use of devices, is able to bathe self in shower or tub independently.
2 - Able to bathe in shower or tub with the assistance of another person: (a) for intermittent supervision or encouragement or reminders, OR (b) to get in and out of the shower or tub, OR (c) for washing difficult to reach areas.
3 - Participates in bathing self in shower or tub, but requires presence of another person throughout the bath for assistance or supervision.
4 - Unable to use the shower or tub and is bathed in bed or bedside chair.
5 - Unable to effectively participate in bathing and is totally bathed by another person.
  UK - Unknown
(M0680) Toileting: Ability to get to and from the toilet or bedside commode.
 
Prior Current  
0 - Able to get to and from the toilet independently with or without a device.
1 - When reminded, assisted, or supervised by another person, able to get to and from the toilet.
2 - Unable to get to and from the toilet but is able to use a bedside commode (with or without assistance).
3 - Unable to get to and from the toilet or bedside commode but is able to use a bedpan/urinal independently.
4 - Is totally dependent in toileting.
  UK - Unknown
(M0690) Transferring: Ability to move from bed to chair, on and off toilet or commode, into and out of tub or shower, and ability to turn and position self in bed if patient is bedfast.
 
Prior Current  
0 - Able to independently transfer.
1 - Transfers with minimal human assistance or with use of an assistive device.
2 - Unable to transfer self but is able to bear weight and pivot during the transfer process.
3 - Unable to transfer self and is unable to bear weight or pivot when transferred by another person.
4 - Bedfast, unable to transfer but is able to turn and position self in bed.
5 - Bedfast, unable to transfer and is unable to turn and position self.
  UK - Unknown
(M0700) Ambulation/Locomotion: Ability to SAFELY walk, once in a standing position, or use a wheelchair, once in a seated position, on a variety of surfaces.
 
Prior Current  
0 - Able to independently walk on even and uneven surfaces and climb stairs with or without railings (i.e., needs no human assistance or assistive device).
1 - Requires use of a device (e.g., cane, walker) to walk alone or requires human supervision or assistance to negotiate stairs or steps or uneven surfaces.
2 - Able to walk only with the supervision or assistance of another person at all times.
3 - Chairfast, unable to ambulate but is able to wheel self independently.
4 - Chairfast, unable to ambulate and is unable to wheel self.
5 - Bedfast, unable to ambulate or be up in a chair.
  UK - Unknown
(M0710) Feeding or Eating: Ability to feed self meals and snacks. Note: This refers only to the process of eating, chewing, and swallowing, not preparing the food to be eaten.
 
Prior Current  
0 - Able to independently feed self.
1 - Able to feed self independently but requires: (a) meal set-up; OR (b) intermittent assistance or supervision from another person; OR (c) a liquid, pureed or ground meat diet.
2 - Unable to feed self and must be assisted or supervised throughout the meal/snack.
3 - Able to take in nutrients orally and receives supplemental nutrients through a nasogastric tube or gastrostomy.
4 - Unable to take in nutrients orally and is fed nutrients through a nasogastric tube or gastrostomy.
5 - Unable to take in nutrients orally or by tube feeding.
  UK - Unknown
(M0720) Planning and Preparing Light Meals (e.g., cereal, sandwich) or reheat delivered meals:
 
Prior Current  
0 - (a) Able to independently plan and prepare all light meals for self or reheat delivered meals; OR (b) Is physically, cognitively, and mentally able to prepare light meals on a regular basis but has not routinely performed light meal preparation in the past (i.e., prior to this home care admission).
1 - Unable to prepare light meals on a regular basis due to physical, cognitive, or mental limitations.
2 - Unable to prepare any light meals or reheat any delivered meals.
  UK - Unknown
(M0730) Transportation: Physical and mental ability to safely use a car, taxi, or public transportation (bus, train, subway).
 
Prior Current  
0 - Able to independently drive a regular or adapted car; OR uses a regular or handicap-accessible public bus.
1 - Able to ride in a car only when driven by another person; OR able to use a bus or handicap van only when assisted or accompanied by another person.
2 - Unable to ride in a car, taxi, bus, or van, and requires transportation by ambulance.
  UK - Unknown
(M0740) Laundry: Ability to do own laundry -- to carry laundry to and from washing machine, to use washer and dryer, to wash small items by hand.
 
Prior Current  
0 - (a) Able to independently take care of all laundry tasks; OR (b) Physically, cognitively, and mentally able to do laundry and access facilities, but has not routinely performed laundry tasks in the past (i.e., prior to this home care admission).
1 - Able to do only light laundry, such as minor hand wash or light washer loads. Due to physical, cognitive, or mental limitations, needs assistance with heavy laundry such as carrying large loads of laundry.
2 - Unable to do any laundry due to physical limitation or needs continual supervision and assistance due to cognitive or mental limitation.
  UK - Unknown
(M0750) Housekeeping: Ability to safely and effectively perform light housekeeping and heavier cleaning tasks.
 
Prior Current  
0 - (a) Able to independently perform all housekeeping tasks; OR (b) Physically, cognitively, and mentally able to perform all housekeeping tasks but has not routinely participated in housekeeping tasks in the past (i.e., prior to this home care admission).
1 - Able to perform only light housekeeping (e.g., dusting, wiping kitchen counters) tasks independently.
2 - Able to perform housekeeping tasks with intermittent assistance or supervision from another person.
3 - Unable to consistently perform any housekeeping tasks unless assisted by another person throughout the process.
4 - Unable to effectively participate in any housekeeping tasks.
  UK - Unknown
(M0760) Shopping: Ability to plan for, select, and purchase items in a store and to carry them home or arrange delivery.
 
Prior Current  
0 - (a) Able to plan for shopping needs and independently perform shopping tasks, including carrying packages; OR (b) Physically, cognitively, and mentally able to take care of shopping, but has not done shopping in the past (i.e., prior to this home care admission).
1 - Able to go shopping, but needs some assistance: (a) By self is able to do only light shopping and carry small packages, but needs someone to do occasional major shopping; OR (b) Unable to go shopping alone, but can go with someone to assist.
2 - Unable to go shopping, but is able to identify items needed, place orders, and arrange home delivery.
3 - Needs someone to do all shopping and errands.
  UK - Unknown
(M0770) Ability to Use Telephone: Ability to answer the phone, dial numbers, and effectively use the telephone to communicate.
 
Prior Current  
0 - Able to dial numbers and answer calls appropriately and as desired.
1 - Able to use a specially adapted telephone (i.e., large numbers on the dial, teletype phone for the deaf) and call essential numbers.
2 - Able to answer the telephone and carry on a normal conversation but has difficulty with placing calls.
3 - Able to answer the telephone only some of the time or is able to carry on only a limited conversation.
4 - Unable to answer the telephone at all but can listen if assisted with equipment.
5 - Totally unable to use the telephone.
NA - Patient does not have a telephone.
  UK - Unknown

MEDICATIONS

(M0780) Management of Oral Medications: Patient's ability to prepare and take all prescribed oral medications reliably and safely, including administration of the correct dosage at the appropriate times/intervals. Excludes injectable and IV medications. (NOTE: This refers to ability, not compliance or willingness.)
 
Prior Current  
0 - Able to independently take the correct oral medication(s) and proper dosage(s) at the correct times.
1 - Able to take medication(s) at the correct times if: (a) individual dosages are prepared in advance by another person; OR (b) given daily reminders; OR (c) someone develops a drug diary or chart.
2 - Unable to take medication unless administered by someone else.
NA - No oral medications prescribed.
  UK - Unknown
(M0790) Management of Inhalant/Mist Medications: Patient's ability to prepare and take all prescribed inhalant/mist medications (nebulizers, metered dose devices) reliably and safely, including administration of the correct dosage at the appropriate times/intervals. Excludes all other forms of medication (oral tablets, injectable and IV medications).
 
Prior Current  
0 - Able to independently take the correct medication and proper dosage at the correct times.
1 - Able to take medication at the correct times if: (a) individual dosages are prepared in advance by another person, OR (b) given daily reminders.
2 - Unable to take medication unless administered by someone else.
NA - No inhalant/mist medications prescribed.
  UK - Unknown
(M0800) Management of Injectable Medications: Patient's ability to prepare and take all prescribed injectable medications reliably and safely, including administration of correct dosage at the appropriate times/intervals. Excludes IV medications.
 
Prior Current  
0 - Able to independently take the correct medication and proper dosage at the correct times.
1 - Able to take injectable medication at correct times if: (a) individual syringes are prepared in advance by another person, OR (b) given daily reminders.
2 - Unable to take injectable medications unless administered by someone else.
NA - No injectable medications prescribed.
  UK - Unknown

EQUIPMENT MANAGEMENT

(M0810) Patient Management of Equipment (includes ONLY oxygen, IV/infusion therapy, enteral/parenteral nutrition equipment or supplies): Patient's ability to set up, monitor and change equipment reliably and safely, add appropriate fluids or medication, clean/store/dispose of equipment or supplies using proper technique. (NOTE: This refers to ability, not compliance or willingness.)
  □ 0 - Patient manages all tasks related to equipment completely independently.
□ 1 - If someone else sets up equipment (i.e., fills portable oxygen tank, provides patient with prepared solutions), patient is able to manage all other aspects of equipment.
□ 2 - Patient requires considerable assistance from another person to manage equipment, but independently completes portions of the task.
□ 3 - Patient is only able to monitor equipment (e.g., liter flow, fluid in bag) and must call someone else to manage the equipment.
□ 4 - Patient is completely dependent on someone else to manage all equipment.
□ NA - No equipment of this type used in care [ If NA, go to M0825 ]
(M0820) Caregiver Management of Equipment (includes ONLY oxygen, IV/infusion equipment, enteral/parenteral nutrition, ventilator therapy equipment or supplies): Caregiver's ability to set up, monitor, and change equipment reliably and safely, add appropriate fluids or medication, clean/store/dispose of equipment or supplies using proper technique. (NOTE: This refers to ability, not compliance or willingness.)
  □ 0 - Caregiver manages all tasks related to equipment completely independently.
□ 1 - If someone else sets up equipment, caregiver is able to manage all other aspects.
□ 2 - Caregiver requires considerable assistance from another person to manage equipment, but independently completes significant portions of task.
□ 3 - Caregiver is only able to complete small portions of task (e.g., administer nebulizer treatment, clean/store/dispose of equipment or supplies).
□ 4 - Caregiver is completely dependent on someone else to manage all equipment.
□ NA - No caregiver
□ UK - Unknown

THERAPY NEED

(M0825) Therapy Need: Does the care plan of the Medicare payment period for which this assessment will define a case mix group indicate a need for therapy (physical, occupational, or speech therapy) that meets the threshold for a Medicare high-therapy case mix group?
  □ 0 - No
□ 1 - Yes
□ NA - Not applicable

 

APPENDIX E: MEDICAL RECORD REVIEW TOOLS

Agency ID: _________________________ Date Episode Began: _________________________
 
Patient ID: _________________________
 

 
Homebound Medical Record Review Tool: (Please Check All that Apply)

YES NO  
    Severe angina on exertion with a physician monitoring cardiac status
    Depressed immune system with physician's order requiring minimal contact (reverse isolation)
    Infectious disease requiring isolation
    Weight bearing limitations
    Bed rest required
(please specify cause):
    General weakness or somnolence
(please specify cause):
    Currently being treated for severe anxiety, fear of falls, fear of going outside or some other mental disorder keeping the patient at home
    Some other medical contraindication against leaving the home (please specify):
 
What other reasons were found to determine this patient to be homebound?
______________________________________________________________________________________________________
______________________________________________________________________________________________________
 
In your clinical opinion, does this patient fit the Medicare homebound criterion?
 
 
YES _____      NO _____
 
Were OASIS start-of-care assessment items obviously miscoded or missing?
 
 
YES _____      NO _____
 
Was the patient record clearly incomplete?    YES _____      NO _____
 
 
If yes, what was missing: ________________________________________________________________________

 

Agency ID: _________________________ Date Episode Began: _________________________
 
Patient ID: _________________________
 

 
Medical Necessity Medical Record Review Tool: (Please Check All that Apply)

YES NO  
    On oxygen and still short of breath
    Teaching use of specialized respiratory devices (suctioning, inhalation, peak-flow meters)
    Severe asthma
    Poorly controlled diagnosis with repeat hospitalization
    Poorly controlled diagnosis with the patient needing frequent adjustment in treatment and dose monitoring
    Documented speech deficits and speech therapy rehabilitation potential
    Documented small motor skill deficits and occupational therapy rehabilitation potential
    Documented gross motor skill deficits and physical therapy rehabilitation potential
    Patient immobilization required for treatment of fracture
    New tracheotomy
    Complex case with teaching required for patient to safely manage at home
 
What other reasons were found to determine this patient to have medical necessity?
______________________________________________________________________________________________________
______________________________________________________________________________________________________
 
In your clinical opinion, does this patient fit the Medicare medical necessity criterion?
 
 
YES _____      NO _____
 
Were OASIS start-of-care assessment items obviously miscoded or missing?
 
 
YES _____      NO _____
 
Was the patient record clearly incomplete?    YES _____      NO _____
 
 
If yes, what was missing: ________________________________________________________________________

 

Program
Medicare